| Oracle9i Data Cartridge Developer's Guide Release 2 (9.2) Part Number A96595-01 |
|
This chapter explains the power demand sample data cartridge that is discussed throughout this book. The power demand cartridge includes a user-defined object type, extensible indexing, and optimization. This chapter covers the following topics:
This chapter does not explain in detail the concepts related to the features illustrated. For information about extensible indexing, see Chapter 7, "Building Domain Indexes". For information about extensible query optimization, see Chapter 8, "Query Optimization". For information about cartridge services, see Chapter 9, "Using Cartridge Services".
This chapter divides the example into segments and provides commentary. The entire cartridge definition is available online in file extdemo1.sql in the Oracle demo directory.
A power utility, Power-To-The-People, develops a sophisticated model to decide how to deploy its resources. The region served by the utility is represented by a grid laid over a geographic area.

This region may be surrounded by other regions some of whose power needs are supplied by other utilities. As pictured, every region is composed of geographic quadrants referred to as "cells" on a 10x10 grid. There are a number of ways of identifying cells -- by spatial coordinates (longitude/latitude), by a matrix numbering (1,1; 1,2;...), and by numbering them sequentially:

Within the area represented by each cell, the power used by consumers in that area is recorded each hour. For example, the power demand readings for a particular hour might be represented by Table 13-1 (cells here represented on a matrix):
The power stations also receives reports from two other sources:
By analyzing the correlation between historical power demand from cells and the temperature readings for those regions, the utility is able to determine with a close approximation what the demand will be, given specific temperatures.

These images are designed so that 'lighter is colder'. Thus, the image shows a cold front moving into the region from the south-west. By correlating the data provided by the grayscale images with temperature readings taken at the same time, the utility has been able to determine what the power demand is given weather conditions viewed from the stratosphere.
The reason that this is important is that a crucial part of this modeling has to do with noting the rapidity and degree of change in the incoming reports as weather changes and power is deployed. The following diagram shows same cold front at a second recording:

By analyzing the extent and speed of the cold front, the utility is able to project what the conditions are likely to be in the short and medium term:

By combing this data about these conditions, and other anomalous situations (such as the failure of a substation) the utility must be able to organize the most optimal deployment of its resources. The following drawing reflects the distribution of substations across the region:

The distribution of power stations means that the utility can redirect its deployment of electricity to the areas of greatest need. The following figure gives a pictorial representation of the overlap between three stations:

Depending on fluctuating requirements, the utility must be able to decide how to deploy its resources, and even whether to purchase power from a neighboring utility in the event of shortfall.
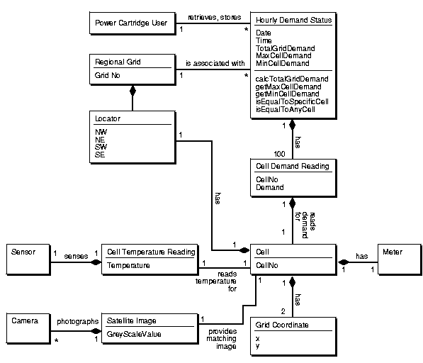
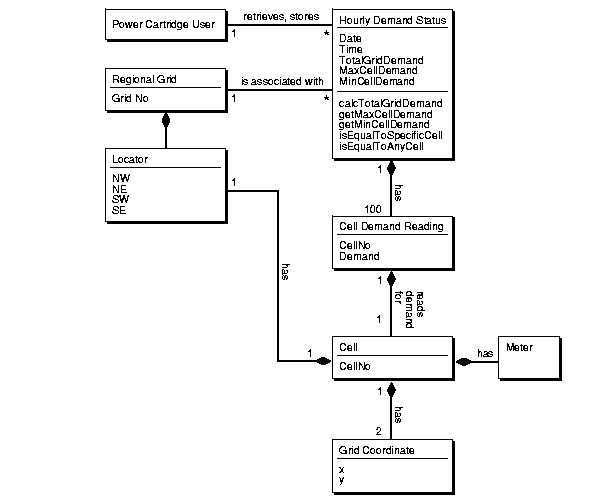
The following Class Diagram describes the application objects using the Unified Modelling Language (UML) notation.

Modelling the application in this way, makes possible the following specific queries:
These queries are, of course, only a short list of the possible information that could be gleaned from the system. For instance, it is obvious that the developer of such an application would want to build queries that are based on the information derived from prior queries:
The Power Demand cartridge as implemented is described in the following class diagram.

The utility gets ongoing reports from weather centers about current conditions and from power stations about ongoing power utilization for specific geographical areas (represented by cells on a 10x10 grid). It then compares this information to historical data in order to predict demand for power in the different geographic areas for given time periods.
Each service area for the utility is considered as a 10x10 grid of cells, where each cell's boundaries are associated with spatial coordinates (longitude/latitude). The geographical areas represented by the cells can be uniform or can have different shapes and sizes. Within the area represented by each cell, the power used by consumers in that area is recorded each hour. For example, the power demand readings for a particular hour might be represented by Table 13-2.
The numbers in each cell reflect power demand (in some unit of measurement determined by the electric utility) for the hour for that area. For example, the demand for the first cell (1,1) was 23, the demand for the second cell (1,2) was 21, and so on. The demand for the last cell (10, 10) was 32.
The utility uses this data for many monitoring and analytical applications. Readings for individual cells are monitored for unusual surges or decreases in demand. For example, the readings of 98 for (6,3) and 87 for (8,1) might be unusually high, and the readings of 19 for (4,7) and 12 for (10,4) might be unusually low. Trends are also analyzed, such as significant increases or decreases in demand for each neighborhood, for each station, and overall, over time.
Before you use extensible indexing, you should first ask whether the users of the table will benefit from having the domain index. That is, will they execute queries that could run just as efficiently using a standard Oracle index, or using no index at all.
A query does not require a domain index if both of the following are true:
equals, lessthan, greaterthan, max, and min for a b-tree index.In the PowerDemand_Typ object type cartridge example, the values for three columns (TotGridDemand, MaxCellDemand, and MinCellDemand) are set by functions, after which the values do not change. (For example, the total grid power demand for 13:00 on 01-Jan-1998 does not change after it has been computed.) For queries that use these columns, a standard b-tree index on each column is sufficient and recommended for operations like equals, lessthan, greaterthan, max, and min.
Examples of queries that would not benefit from extensible indexing (using the power demand cartridge) include:
To make this query run efficiently, define two additional columns in the PowerDemand_Typ object type (AverageCellDemand and MedianCellDemand), and create functions to set the values of these columns. (For example, AverageCellDemand is TotGridDemand divided by 100.) Then, create b-tree indexes on the AverageCellDemand and MedianCellDemand columns.
A query benefits from a domain index if the data being queried against cannot be made a simple attribute of a table or if the operation to be performed on the data is not one of the standard operations supported by Oracle indexes.
Examples of queries that would benefit from extensible indexing (using the power demand cartridge) include:
By asking for the first cell, the query goes beyond a simple true-false check (such as finding out whether any cell for a specified time had a demand equal to a specified value), and thus benefits from a domain index.
This section explains the parts of the power demand cartridge as they relate to extensible indexing. Explanatory text and code segments are mixed.
The entire cartridge definition is available online as extdemo1.sql in the standard Oracle demo directory (location is platform-dependent).
Before you create a domain index, create a database user (schema) to own the index. In the power demand example, the user PowerCartUser is created and granted the appropriate privileges. All database structures related to the cartridge are created under this user (that is, while the cartridge developer or DBA is connected to the database as PowerCartUser).
set echo on connect sys/knl_test7 as sysdba; drop user PowerCartUser cascade; create user PowerCartUser identified by PowerCartUser; ------------------------------------------------------------------- -- INITIAL SET-UP ------------------------------------------------------------------- -- grant privileges -- grant connect, resource to PowerCartUser; -- do we need to grant these privileges -- grant create operator to PowerCartUser; grant create indextype to PowerCartUser; grant create table to PowerCartUser;
The object type PowerDemand_Typ is used to store the hourly power grid readings. This type is used to define a column in the table in which the readings are stored.
First, two types are defined for later use:
PowerGrid_Typ, to define the cells in PowerDemand_TypNumTab_Typ, to be used in the table in which the index entries are stored
CREATE OR REPLACE TYPE PowerGrid_Typ as VARRAY(100) of NUMBER; CREATE OR REPLACE TYPE NumTab_Typ as TABLE of NUMBER;
The PowerDemand_Typ type includes:
TotGridDemand, MaxCellDemand, MinCellDemand) that are set by three member proceduresCREATE OR REPLACE TYPE PowerDemand_Typ AS OBJECT ( -- Total power demand for the grid TotGridDemand NUMBER, -- Cell with maximum/minimum power demand for the grid MaxCellDemand NUMBER, MinCellDemand NUMBER, -- Power grid: 10X10 array represented as Varray(100) -- using previously defined PowerGrid_Typ CellDemandValues PowerGrid_Typ, -- Date/time for power-demand samplings: Every hour, -- 100 areas transmit their power demand readings. SampleTime DATE, -- -- Methods (Set...) for this type: -- Total demand for the entire power grid for a -- SampleTime: sets the value of TotGridDemand. Member Procedure SetTotalDemand, -- Maximum demand for the entire power grid for a -- SampleTime: sets the value of MaxCellDemand. Member Procedure SetMaxDemand, -- Minimum demand for the entire power grid for a -- SampleTime: sets the value of MinCellDemand. Member Procedure SetMinDemand ); /
The PowerDemand_Typ object type has methods that set the first three attributes in the type definition:
TotGridDemand, the total demand for the entire power grid for the hour in question (identified by SampleTime)MaxCellDemand, the highest power demand value for all cells for the SampleTimeMinCellDemand, the lowest power demand value for all cells for the SampleTimeThe logic for each procedure is not complicated. SetTotDemand loops through the cell values and creates a running total. SetMaxDemand compares the first two cell values and saves the higher as the current highest value; it then examines each successive cell, comparing it against the current highest value and saving the higher of the two as the current highest value, until it reaches the end of the cell values. SetMinDemand uses the same approach as SetMaxDemand, but it continually saves the lower value in comparisons to derive the lowest value overall.
CREATE OR REPLACE TYPE BODY PowerDemand_Typ IS -- -- Methods (Set...) for this type: -- Total demand for the entire power grid for a -- SampleTime: sets the value of TotGridDemand. Member Procedure SetTotalDemand IS I BINARY_INTEGER; Total NUMBER; BEGIN Total :=0; I := CellDemandValues.FIRST; WHILE I IS NOT NULL LOOP Total := Total + CellDemandValues(I); I := CellDemandValues.NEXT(I); END LOOP; TotGridDemand := Total; END; -- Maximum demand for the entire power grid for a -- SampleTime: sets the value of MaxCellDemand. Member Procedure SetMaxDemand IS I BINARY_INTEGER; Temp NUMBER; BEGIN I := CellDemandValues.FIRST; Temp := CellDemandValues(I); WHILE I IS NOT NULL LOOP IF Temp < CellDemandValues(I) THEN Temp := CellDemandValues(I); END IF; I := CellDemandValues.NEXT(I); END LOOP; MaxCellDemand := Temp; END; -- Minimum demand for the entire power grid for a -- SampleTime: sets the value of MinCellDemand. Member Procedure SetMinDemand IS I BINARY_INTEGER; Temp NUMBER; BEGIN I := CellDemandValues.FIRST; Temp := CellDemandValues(I); WHILE I IS NOT NULL LOOP IF Temp > CellDemandValues(I) THEN Temp := CellDemandValues(I); END IF; I := CellDemandValues.NEXT(I); END LOOP; MinCellDemand := Temp; END; END; /
The power demand cartridge is designed so that users can query the power grid for relationships of equality, greaterthan, or lessthan. However, because of the way the cell demand data is stored, the standard operators (=, >, <) cannot be used. Instead, new operators must be created, and a function must be created to define the implementation for each new operator (that is, how the operator is to be interpreted by Oracle).
For this cartridge, each of the three relationships can be checked in two ways:
These operators have names in the form Power_XxxxxSpecific (such as Power_EqualsSpecific), and the implementing functions have names in the form Power_XxxxxSpecific_Func.
These operators have names in the form Power_XxxxxAny (such as Power_EqualsAny), and the implementing functions have names in the form Power_XxxxxAny_Func.
For each operator-function pair, the function is defined first and then the operator as using the function. The function is the implementation that would be used if there were no index defined. This implementation must be specified so that the Oracle optimizer can determine costs, decide whether the index should be used, and create an execution plan.
Table 13-3 shows the operators and implementing functions:
Each function and operator returns a numeric value of 1 if the condition is true (for example, if the specified cell is equal to the specified value), 0 if the condition is not true, or null if the specified cell number is invalid.
The following statements create the implementing functions (Power_xxx_Func), first the specific and then the any implementations.
CREATE FUNCTION Power_EqualsSpecific_Func( object PowerDemand_Typ, cell NUMBER, value NUMBER) RETURN NUMBER AS BEGIN IF cell <= object.CellDemandValues.LAST THEN IF (object.CellDemandValues(cell) = value) THEN RETURN 1; ELSE RETURN 0; END IF; ELSE RETURN NULL; END IF; END; / CREATE FUNCTION Power_GreaterThanSpecific_Func( object PowerDemand_Typ, cell NUMBER, value NUMBER) RETURN NUMBER AS BEGIN IF cell <= object.CellDemandValues.LAST THEN IF (object.CellDemandValues(cell) > value) THEN RETURN 1; ELSE RETURN 0; END IF; ELSE RETURN NULL; END IF; END; / CREATE FUNCTION Power_LessThanSpecific_Func( object PowerDemand_Typ, cell NUMBER, value NUMBER) RETURN NUMBER AS BEGIN IF cell <= object.CellDemandValues.LAST THEN IF (object.CellDemandValues(cell) < value) THEN RETURN 1; ELSE RETURN 0; END IF; ELSE RETURN NULL; END IF; END; / CREATE FUNCTION Power_EqualsAny_Func( object PowerDemand_Typ, value NUMBER) RETURN NUMBER AS idx NUMBER; BEGIN FOR idx IN object.CellDemandValues.FIRST..object.CellDemandValues.LAST LOOP IF (object.CellDemandValues(idx) = value) THEN RETURN 1; END IF; END LOOP; RETURN 0; END; / CREATE FUNCTION Power_GreaterThanAny_Func( object PowerDemand_Typ, value NUMBER) RETURN NUMBER AS idx NUMBER; BEGIN FOR idx IN object.CellDemandValues.FIRST..object.CellDemandValues.LAST LOOP IF (object.CellDemandValues(idx) > value) THEN RETURN 1; END IF; END LOOP; RETURN 0; END; / CREATE FUNCTION Power_LessThanAny_Func( object PowerDemand_Typ, value NUMBER) RETURN NUMBER AS idx NUMBER; BEGIN FOR idx IN object.CellDemandValues.FIRST..object.CellDemandValues.LAST LOOP IF (object.CellDemandValues(idx) < value) THEN RETURN 1; END IF; END LOOP; RETURN 0; END; /
The following statements create the operators (Power_xxx). Each statement specifies an implementing function.
CREATE OPERATOR Power_Equals BINDING(PowerDemand_Typ, NUMBER, NUMBER) RETURN NUMBER USING Power_EqualsSpecific_Func; CREATE OPERATOR Power_GreaterThan BINDING(PowerDemand_Typ, NUMBER, NUMBER) RETURN NUMBER USING Power_GreaterThanSpecific_Func; CREATE OPERATOR Power_LessThan BINDING(PowerDemand_Typ, NUMBER, NUMBER) RETURN NUMBER USING Power_LessThanSpecific_Func; CREATE OPERATOR Power_EqualsAny BINDING(PowerDemand_Typ, NUMBER) RETURN NUMBER USING Power_EqualsAny_Func; CREATE OPERATOR Power_GreaterThanAny BINDING(PowerDemand_Typ, NUMBER) RETURN NUMBER USING Power_GreaterThanAny_Func; CREATE OPERATOR Power_LessThanAny BINDING(PowerDemand_Typ, NUMBER) RETURN NUMBER USING Power_LessThanAny_Func;
The power demand cartridge creates an object type for the indextype that specifies methods for the domain index. These methods are part of the ODCIIndex (Oracle Data Cartridge Interface Index) interface, and they collectively define the behavior of the index in terms of the methods for defining, manipulating, scanning, and exporting the index.
Table 13-4 shows the method functions (all but one starting with ODCIIndex) created for the power demand cartridge.
The following statement creates the power_idxtype_im object type. The methods of this type are the ODCI methods to define, manipulate, and scan the domain index. The curnum attribute is the cursor number used as context for the scan routines (ODCIIndexStart, ODCIIndexFetch, and ODCIIndexClose).
CREATE OR REPLACE TYPE power_idxtype_im AS OBJECT ( curnum NUMBER, STATIC FUNCTION ODCIGetInterfaces(ifclist OUT sys.ODCIObjectList) RETURN NUMBER, STATIC FUNCTION ODCIIndexCreate (ia sys.ODCIIndexInfo, parms VARCHAR2, env sys.ODCIEnv) RETURN NUMBER, STATIC FUNCTION ODCIIndexDrop(ia sys.ODCIIndexInfo, env sys.ODCIEnv) RETURN NUMBER, STATIC FUNCTION ODCIIndexStart(sctx IN OUT power_idxtype_im, ia sys.ODCIIndexInfo, op sys.ODCIPredInfo, qi sys.ODCIQueryInfo, strt NUMBER, stop NUMBER, cmppos NUMBER, cmpval NUMBER, env sys.ODCIEnv) RETURN NUMBER, STATIC FUNCTION ODCIIndexStart(sctx IN OUT power_idxtype_im, ia sys.ODCIIndexInfo, op sys.ODCIPredInfo, qi sys.ODCIQueryInfo, strt NUMBER, stop NUMBER, cmpval NUMBER, env sys.ODCIEnv) RETURN NUMBER, MEMBER FUNCTION ODCIIndexFetch(nrows NUMBER, rids OUT sys.ODCIRidList, env sys.ODCIEnv) RETURN NUMBER, MEMBER FUNCTION ODCIIndexClose (env sys.ODCIEnv) RETURN NUMBER, STATIC FUNCTION ODCIIndexInsert(ia sys.ODCIIndexInfo, rid VARCHAR2, newval PowerDemand_Typ, env sys.ODCIEnv) RETURN NUMBER, STATIC FUNCTION ODCIIndexDelete(ia sys.ODCIIndexInfo, rid VARCHAR2, oldval PowerDemand_Typ, env sys.ODCIEnv) RETURN NUMBER, STATIC FUNCTION ODCIIndexUpdate(ia sys.ODCIIndexInfo, rid VARCHAR2, oldval PowerDemand_Typ, newval PowerDemand_Typ, env sys.ODCIEnv) RETURN NUMBER, STATIC FUNCTION ODCIIndexGetMetadata(ia sys.ODCIIndexInfo, expversion VARCHAR2, newblock OUT PLS_INTEGER, env sys.ODCIEnv) RETURN VARCHAR2 ); /
The CREATE TYPE statement is followed by a CREATE TYPE BODY statement that specifies the implementation for each member function:
CREATE OR REPLACE TYPE BODY power_idxtype_im IS ...
Each type method is described in a separate section, but the method definitions (except for ODCIIndexGetMetadata, which returns a VARCHAR2 string) have the following general form:
STATIC FUNCTION function-name (...) RETURN NUMBER IS ... END;
The ODCIGetInterfaces function returns the list of names of the interfaces implemented by the type. To specify the Oracle9i version of these interfaces, the ODCIGetInterfaces routine must return 'SYS.ODCIINDEX2' in the OUT parameter.
STATIC FUNCTION ODCIGetInterfaces(ifclist OUT sys.ODCIObjectList) RETURN NUMBER IS BEGIN ifclist := sys.ODCIObjectList(sys.ODCIObject('SYS','ODCIINDEX2')); return ODCIConst.Success; END ODCIGetInterfaces;
The ODCIIndexCreate function creates the table to store index data. If the base table containing data to be indexed is not empty, this method inserts the index data entries for existing data.
The function takes the index information as an object parameter whose type is SYS.ODCIINDEXINFO. The type attributes include the index name, owner name, and so forth. The PARAMETERS string specified in the CREATE INDEX statement is also passed in as a parameter to the function.
STATIC FUNCTION ODCIIndexCreate (ia sys.ODCIIndexInfo, parms VARCHAR2, env sys.ODCIEnv) RETURN NUMBER IS i INTEGER; r ROWID; p NUMBER; v NUMBER; stmt1 VARCHAR2(1000); stmt2 VARCHAR2(1000); stmt3 VARCHAR2(1000); cnum1 INTEGER; cnum2 INTEGER; cnum3 INTEGER; junk NUMBER;
The SQL statement to create the table for the index data is constructed and executed. The table includes the ROWID of the base table (r), the cell position number (cpos) in the grid from 1 to 100, and the power demand value in that cell (cval).
BEGIN -- Construct the SQL statement. stmt1 := 'CREATE TABLE ' || ia.IndexSchema || '.' || ia.IndexName || '_pidx' || '( r ROWID, cpos NUMBER, cval NUMBER)'; -- Dump the SQL statement. dbms_output.put_line('ODCIIndexCreate>>>>>'); sys.ODCIIndexInfoDump(ia); dbms_output.put_line('ODCIIndexCreate>>>>>'||stmt1); -- Execute the statement. cnum1 := dbms_sql.open_cursor; dbms_sql.parse(cnum1, stmt1, dbms_sql.native); junk := dbms_sql.execute(cnum1); dbms_sql.close_cursor(cnum1);
The function populates the index by inserting rows into the table. The function "unnests" the VARRAY attribute and inserts a row for each cell into the table. Thus, each 10 X 10 grid (10 rows, 10 values for each row) becomes 100 rows in the table (one row for each cell).
-- Now populate the table. stmt2 := ' INSERT INTO '|| ia.IndexSchema || '.' || ia.IndexName || '_pidx' || ' SELECT :rr, ROWNUM, column_value FROM THE' || ' (SELECT CAST (P.'|| ia.IndexCols(1).ColName||'.CellDemandValues AS NumTab_Typ)'|| ' FROM ' || ia.IndexCols(1).TableSchema || '.' || ia.IndexCols(1).TableName || ' P' || ' WHERE P.ROWID = :rr)'; -- Execute the statement. dbms_output.put_line('ODCIIndexCreate>>>>>'||stmt2); -- Parse the statement. cnum2 := dbms_sql.open_cursor; dbms_sql.parse(cnum2, stmt2, dbms_sql.native); stmt3 := 'SELECT ROWID FROM '|| ia.IndexCols(1).TableSchema || '.' || ia.IndexCols(1).TableName; dbms_output.put_line('ODCIIndexCreate>>>>>'||stmt3); cnum3 := dbms_sql.open_cursor; dbms_sql.parse(cnum3, stmt3, dbms_sql.native); dbms_sql.define_column_rowid(cnum3, 1, r); junk := dbms_sql.execute(cnum3); WHILE dbms_sql.fetch_rows(cnum3) > 0 LOOP -- Get column values of the row. -- dbms_sql.column_value_rowid(cnum3, 1, r); -- Bind the row into the cursor for the next insert. -- dbms_sql.bind_variable_rowid(cnum2, ':rr', r); junk := dbms_sql.execute(cnum2); END LOOP;
The function concludes by closing the cursors and returning a success status.
dbms_sql.close_cursor(cnum2); dbms_sql.close_cursor(cnum3); RETURN ODCICONST.SUCCESS; END;
The ODCIIndexDrop function drops the table that stores the index data. This method is called when a DROP INDEX statement is issued.
STATIC FUNCTION ODCIIndexDrop(ia sys.ODCIIndexInfo, env sys.ODCIEnv) RETURN NUMBER IS stmt VARCHAR2(1000); cnum INTEGER; junk INTEGER; BEGIN -- Construct the SQL statement. stmt := 'drop table ' || ia.IndexSchema || '.' || ia.IndexName || '_pidx'; dbms_output.put_line('ODCIIndexDrop>>>>>'); sys.ODCIIndexInfoDump(ia); dbms_output.put_line('ODCIIndexDrop>>>>>'||stmt); -- Execute the statement. cnum := dbms_sql.open_cursor; dbms_sql.parse(cnum, stmt, dbms_sql.native); junk := dbms_sql.execute(cnum); dbms_sql.close_cursor(cnum); RETURN ODCICONST.SUCCESS; END;
The first definition of the ODCIIndexStart function initializes the scan of the index to return all rows that satisfy the operator predicate. For example, if a query asks for all instances where cell (3,7) has a value equal to 25, the function initializes the scan to return all rows in the index-organized table for which that cell has that value. (This definition of ODCIIndexStart differs from the definition in the next section in that it includes the cmppos parameter for the position of the cell.)
The self parameter is the context that is shared with the ODCIIndexFetch and ODCIIndexClose functions. The ia parameter contains the index information (an object instance of type SYS.ODCIINDEXINFO), and the op parameter contains the operator information (an object instance of type SYS.ODCIOPERINFO). The strt and stop parameters are the lower and upper boundary points for the operator return value. The cmppos parameter is the cell position and cmpval is the value in the cell specified by the operator (Power_XxxxxSpecific).
STATIC FUNCTION ODCIIndexStart(sctx IN OUT power_idxtype_im, ia sys.ODCIIndexInfo, op sys.ODCIPredInfo, qi sys.ODCIQueryInfo, strt NUMBER, stop NUMBER, cmppos NUMBER, cmpval NUMBER, env sys.ODCIEnv ) RETURN NUMBER IS cnum INTEGER; rid ROWID; nrows INTEGER; relop VARCHAR2(2); stmt VARCHAR2(1000); BEGIN dbms_output.put_line('ODCIIndexStart>>>>>'); sys.ODCIIndexInfoDump(ia); sys.ODCIPredInfoDump(op); dbms_output.put_line('start key : '||strt); dbms_output.put_line('stop key : '||stop); dbms_output.put_line('compare position : '||cmppos); dbms_output.put_line('compare value : '||cmpval);
The function checks for errors in the predicate.
-- Take care of some error cases. -- The only predicates in which btree operators can appear are -- op() = 1 OR op() = 0 if (strt != 1) and (strt != 0) then raise_application_error(-20101, 'Incorrect predicate for operator'); END if; if (stop != 1) and (stop != 0) then raise_application_error(-20101, 'Incorrect predicate for operator'); END if;
The function generates the SQL statement to be executed. It determines the operator name and the lower and upper index value bounds (the start and stop keys). The start and stop keys can both be 1 (= TRUE) or both be 0 (= FALSE).
-- Generate the SQL statement to be executed. -- First, figure out the relational operator needed for the statement. -- Take into account the operator name and the start and stop keys. -- For now, the start and stop keys can both be 1 (= TRUE) or -- both be 0 (= FALSE). if op.ObjectName = 'POWER_EQUALS' then if strt = 1 then relop := '='; else relop := '!='; end if; elsif op.ObjectName = 'POWER_LESSTHAN' then if strt = 1 then relop := '<'; else relop := '>='; end if; elsif op.ObjectName = 'POWER_GREATERTHAN' then if strt = 1 then relop := '>'; else relop := '<='; end if; else raise_application_error(-20101, 'Unsupported operator'); end if; stmt := 'select r from '||ia.IndexSchema||'.'||ia.IndexName||'_pidx'|| ' where cpos '|| '=' ||''''||cmppos||''''|| ' and cval '||relop||''''||cmpval||''''; dbms_output.put_line('ODCIIndexStart>>>>>' || stmt); cnum := dbms_sql.open_cursor; dbms_sql.parse(cnum, stmt, dbms_sql.native); dbms_sql.define_column_rowid(cnum, 1, rid); nrows := dbms_sql.execute(cnum);
The function stores the cursor number in the context, which is used by the ODCIIndexFetch function, and sets a success return status.
-- Set context as the cursor number. self := power_idxtype_im(cnum); -- Return success. RETURN ODCICONST.SUCCESS; END;
This definition of the ODCIIndexStart function initializes the scan of the index to return all rows that satisfy the operator predicate. For example, if a query asks for all instances where any cell has a value equal to 25, the function initializes the scan to return all rows in the index-organized table for which that cell has that value. (This definition of ODCIIndexStart differs from the definition in the preceding section in that it does not include the cmppos parameter.)
The self parameter is the context that is shared with the ODCIIndexFetch and ODCIIndexClose functions. The ia parameter contains the index information (an object instance of type SYS.ODCIINDEXINFO), and the op parameter contains the operator information (an object instance of type SYS.ODCIOPERINFO). The strt and stop parameters are the lower and upper boundary points for the operator return value. The cmpval parameter is the value in the cell specified by the operator (Power_Xxxxx).
STATIC FUNCTION ODCIIndexStart(sctx IN OUT power_idxtype_im, ia sys.ODCIIndexInfo, op sys.ODCIPredInfo, qi sys.ODCIQueryInfo, strt NUMBER, stop NUMBER, cmpval NUMBER, env sys.ODCIEnv ) RETURN NUMBER IS cnum INTEGER; rid ROWID; nrows INTEGER; relop VARCHAR2(2); stmt VARCHAR2(1000); BEGIN dbms_output.put_line('ODCIIndexStart>>>>>'); sys.ODCIIndexInfoDump(ia); sys.ODCIPredInfoDump(op); dbms_output.put_line('start key : '||strt); dbms_output.put_line('stop key : '||stop); dbms_output.put_line('compare value : '||cmpval);
The function checks for errors in the predicate.
-- Take care of some error cases. -- The only predicates in which btree operators can appear are -- op() = 1 OR op() = 0 if (strt != 1) and (strt != 0) then raise_application_error(-20101, 'Incorrect predicate for operator'); END if; if (stop != 1) and (stop != 0) then raise_application_error(-20101, 'Incorrect predicate for operator'); END if;
The function generates the SQL statement to be executed. It determines the operator name and the lower and upper index value bounds (the start and stop keys). The start and stop keys can both be 1 (= TRUE) or both be 0 (= FALSE).
-- Generate the SQL statement to be executed. -- First, figure out the relational operator needed for the statement. -- Take into account the operator name and the start and stop keys. -- For now, the start and stop keys can both be 1 (= TRUE) or -- both be 0 (= FALSE). if op.ObjectName = 'POWER_EQUALSANY' then relop := '='; elsif op.ObjectName = 'POWER_LESSTHANANY' then relop := '<'; elsif op.ObjectName = 'POWER_GREATERTHANANY' then relop := '>'; else raise_application_error(-20101, 'Unsupported operator'); end if; -- This statement returns the qualifying rows for the TRUE case. stmt := 'select distinct r from '||ia.IndexSchema||'.'||ia.IndexName|| '_pidx'||' where cval '||relop||''''||cmpval||''''; -- In the FALSE case, we need to find the complement of the rows. if (strt = 0) then stmt := 'select distinct r from '||ia.IndexSchema||'.'|| ia.IndexName||'_pidx'||' minus '||stmt; end if; dbms_output.put_line('ODCIIndexStart>>>>>' || stmt); cnum := dbms_sql.open_cursor; dbms_sql.parse(cnum, stmt, dbms_sql.native); dbms_sql.define_column_rowid(cnum, 1, rid); nrows := dbms_sql.execute(cnum);
The function stores the cursor number in the context, which is used by the ODCIIndexFetch function, and sets a success return status.
-- Set context as the cursor number. self := power_idxtype_im(cnum); -- Return success. RETURN ODCICONST.SUCCESS; END;
The ODCIIndexFetch function returns a batch of ROWIDs for the rows that satisfy the operator predicate. Each time ODCIIndexFetch is invoked, it returns the next batch of rows (rids parameter, a collection of type SYS.ODCIRIDLIST) that satisfy the operator predicate. The maximum number of rows that can be returned on each invocation is specified by the nrows parameter.
Oracle invokes ODCIIndexFetch repeatedly until all rows that satisfy the operator predicate have been returned.
MEMBER FUNCTION ODCIIndexFetch(nrows NUMBER, rids OUT sys.ODCIRidList, env sys.ODCIEnv) RETURN NUMBER IS cnum INTEGER; idx INTEGER := 1; rlist sys.ODCIRidList := sys.ODCIRidList(); done boolean := FALSE;
The function loops through the collection of rows selected by the ODCIIndexStart function, using the same cursor number (cnum) as in the ODCIIndexStart function, and returns the ROWIDs.
BEGIN dbms_output.put_line('ODCIIndexFetch>>>>>'); dbms_output.put_line('Nrows : '||round(nrows)); cnum := self.curnum; WHILE not done LOOP if idx > nrows then done := TRUE; else rlist.extEND; if dbms_sql.fetch_rows(cnum) > 0 then dbms_sql.column_value_rowid(cnum, 1, rlist(idx)); idx := idx + 1; else rlist(idx) := null; done := TRUE; END if; END if; END LOOP; rids := rlist; RETURN ODCICONST.SUCCESS; END;
The ODCIIndexClose function closes the cursor used by the ODCIIndexStart and ODCIIndexFetch functions.
MEMBER FUNCTION ODCIIndexClose (env sys.ODCIEnv) RETURN NUMBER IS cnum INTEGER; BEGIN dbms_output.put_line('ODCIIndexClose>>>>>'); cnum := self.curnum; dbms_sql.close_cursor(cnum); RETURN ODCICONST.SUCCESS; END;
The ODCIIndexInsert function is called when a record is inserted in a table that contains columns or OBJECT attributes indexed by the indextype. The new values in the indexed columns are passed in as arguments along with the corresponding row identifier.
STATIC FUNCTION ODCIIndexInsert(ia sys.ODCIIndexInfo, rid VARCHAR2, newval PowerDemand_Typ, env sys.ODCIEnv) RETURN NUMBER AS cid INTEGER; i BINARY_INTEGER; nrows INTEGER; stmt VARCHAR2(1000); BEGIN dbms_output.put_line(' '); dbms_output.put_line('ODCIIndexInsert>>>>>'|| ' TotGridDemand= '||newval.TotGridDemand || ' MaxCellDemand= '||newval.MaxCellDemand || ' MinCellDemand= '||newval.MinCellDemand) ; sys.ODCIIndexInfoDump(ia); -- Construct the statement. stmt := ' INSERT INTO '|| ia.IndexSchema || '.' || ia.IndexName || '_pidx' ||' VALUES (:rr, :pos, :val)'; -- Execute the statement. dbms_output.put_line('ODCIIndexInsert>>>>>'||stmt); -- Parse the statement. cid := dbms_sql.open_cursor; dbms_sql.parse(cid, stmt, dbms_sql.native); dbms_sql.bind_variable_rowid(cid, ':rr', rid); -- Iterate over the rows of the Varray and insert them. i := newval.CellDemandValues.FIRST; WHILE i IS NOT NULL LOOP -- Bind the row into the cursor for insert. dbms_sql.bind_variable(cid, ':pos', i); dbms_sql.bind_variable(cid, ':val', newval.CellDemandValues(i)); -- Execute. nrows := dbms_sql.execute(cid); dbms_output.put_line('ODCIIndexInsert>>>>>('|| 'RID' ||' , '|| i || ' , '|| newval.CellDemandValues(i)|| ')'); i := newval.CellDemandValues.NEXT(i); END LOOP; dbms_sql.close_cursor(cid); RETURN ODCICONST.SUCCESS; END ODCIIndexInsert;
The ODCIIndexDelete function is called when a record is deleted from a table that contains columns or object attributes indexed by the indextype. The old values in the indexed columns are passed in as arguments along with the corresponding row identifier.
STATIC FUNCTION ODCIIndexDelete(ia sys.ODCIIndexInfo, rid VARCHAR2, oldval PowerDemand_Typ, env sys.ODCIEnv) RETURN NUMBER AS cid INTEGER; stmt VARCHAR2(1000); nrows INTEGER; BEGIN dbms_output.put_line(' '); dbms_output.put_line('ODCIIndexDelete>>>>>'|| ' TotGridDemand= '||oldval.TotGridDemand || ' MaxCellDemand= '||oldval.MaxCellDemand || ' MinCellDemand= '||oldval.MinCellDemand) ; sys.ODCIIndexInfoDump(ia); -- Construct the statement. stmt := ' DELETE FROM '|| ia.IndexSchema || '.' || ia.IndexName || '_pidx' || ' WHERE r=:rr'; dbms_output.put_line('ODCIIndexDelete>>>>>'||stmt); -- Parse and execute the statement. cid := dbms_sql.open_cursor; dbms_sql.parse(cid, stmt, dbms_sql.native); dbms_sql.bind_variable_rowid(cid, ':rr', rid); nrows := dbms_sql.execute(cid); dbms_sql.close_cursor(cid); RETURN ODCICONST.SUCCESS; END ODCIIndexDelete;
The ODCIIndexUpdate function is called when a record is updated in a table that contains columns or object attributes indexed by the indextype. The old and new values in the indexed columns are passed in as arguments along with the row identifier.
STATIC FUNCTION ODCIIndexUpdate(ia sys.ODCIIndexInfo, rid VARCHAR2, oldval PowerDemand_Typ, newval PowerDemand_Typ, env sys.ODCIEnv) RETURN NUMBER AS cid INTEGER; cid2 INTEGER; stmt VARCHAR2(1000); stmt2 VARCHAR2(1000); nrows INTEGER; i NUMBER; BEGIN dbms_output.put_line(' '); dbms_output.put_line('ODCIIndexUpdate>>>>> Old'|| ' TotGridDemand= '||oldval.TotGridDemand || ' MaxCellDemand= '||oldval.MaxCellDemand || ' MinCellDemand= '||oldval.MinCellDemand) ; dbms_output.put_line('ODCIIndexUpdate>>>>> New'|| ' TotGridDemand= '||newval.TotGridDemand || ' MaxCellDemand= '||newval.MaxCellDemand || ' MinCellDemand= '||newval.MinCellDemand) ; sys.ODCIIndexInfoDump(ia); -- Delete old entries. stmt := ' DELETE FROM '|| ia.IndexSchema || '.' || ia.IndexName || '_pidx' || ' WHERE r=:rr'; dbms_output.put_line('ODCIIndexUpdate>>>>>'||stmt); -- Parse and execute the statement. cid := dbms_sql.open_cursor; dbms_sql.parse(cid, stmt, dbms_sql.native); dbms_sql.bind_variable_rowid(cid, ':rr', rid); nrows := dbms_sql.execute(cid); dbms_sql.close_cursor(cid); -- Insert new entries. stmt2 := ' INSERT INTO '|| ia.IndexSchema || '.' || ia.IndexName || '_pidx' || ' VALUES (:rr, :pos, :val)'; dbms_output.put_line('ODCIIndexUpdate>>>>>'||stmt2); -- Parse and execute the statement. cid2 := dbms_sql.open_cursor; dbms_sql.parse(cid2, stmt2, dbms_sql.native); dbms_sql.bind_variable_rowid(cid2, ':rr', rid); -- Iterate over the rows of the Varray and insert them. i := newval.CellDemandValues.FIRST; WHILE i IS NOT NULL LOOP -- Bind the row into the cursor for insert. dbms_sql.bind_variable(cid2, ':pos', i); dbms_sql.bind_variable(cid2, ':val', newval.CellDemandValues(i)); nrows := dbms_sql.execute(cid2); dbms_output.put_line('ODCIIndexUpdate>>>>>('|| 'RID' || ' , '|| i || ' , '|| newval.CellDemandValues(i)|| ')'); i := newval.CellDemandValues.NEXT(i); END LOOP; dbms_sql.close_cursor(cid2); RETURN ODCICONST.SUCCESS; END ODCIIndexUpdate;
ODCIIndexUpdate is the last method defined in the CREATE TYPE BODY statement, which ends as follows:
END; /
The optional ODCIIndexGetMetadata function, if present, is called by the Export utility in order to write implementation-specific metadata (which is not stored in the system catalogs) into the export dump file. This metadata might be policy information, version information, user settings, and so on. This metadata is written to the dump file as anonymous PL/SQL blocks that are executed at import time, immediately before the associated index is created.
This method returns strings to the Export utility that comprise the code of the PL/SQL blocks. The Export utility repeatedly calls this method until a zero-length string is returned, thus allowing the creation of any number of PL/SQL blocks of arbitrary complexity. Normally, this method calls functions within a PL/SQL package in order to make use of package-level variables, such as cursors and iteration counters, that maintain state across multiple calls by Export.
For information about the Export and Import utilities, see the Oracle9i Database Utilities manual.
In the power demand cartridge, the only metadata that is passed is a version string of V1.0, identifying the current format of the index-organized table that underlies the domain index. The power_pkg.getversion function generates a call to the power_pkg.checkversion procedure, to be executed at import time to check that the version string is V1.0.
STATIC FUNCTION ODCIIndexGetMetadata(ia sys.ODCIIndexInfo, expversion VARCHAR2, newblock OUT PLS_INTEGER, env sys.ODCIEnv) RETURN VARCHAR2 IS BEGIN -- Let getversion do all the work since it has to maintain state across calls. RETURN power_pkg.getversion (ia.IndexSchema, ia.IndexName, newblock); EXCEPTION WHEN OTHERS THEN RAISE; END ODCIIndexGetMetaData;
The power_pkg package is defined as follows:
CREATE OR REPLACE PACKAGE power_pkg AS FUNCTION getversion(idxschema IN VARCHAR2, idxname IN VARCHAR2, newblock OUT PLS_INTEGER) RETURN VARCHAR2; PROCEDURE checkversion (version IN VARCHAR2); END power_pkg; / SHOW ERRORS; CREATE OR REPLACE PACKAGE BODY power_pkg AS -- iterate is a package-level variable used to maintain state across calls -- by Export in this session. iterate NUMBER := 0; FUNCTION getversion(idxschema IN VARCHAR2, idxname IN VARCHAR2, newblock OUT PLS_INTEGER) RETURN VARCHAR2 IS BEGIN -- We are generating only one PL/SQL block consisting of one line of code. newblock := 1; IF iterate = 0 THEN -- Increment iterate so we'll know we're done next time we're called. iterate := iterate + 1; -- Return a string that calls checkversion with a version 'V1.0' -- Note that export adds the surrounding BEGIN/END pair to form the anon. -- block... we don't have to. RETURN 'power_pkg.checkversion(''V1.0'');'; ELSE -- reset iterate for next index iterate := 0; -- Return a 0-length string; we won't be called again for this index. RETURN ''; END IF; END getversion; PROCEDURE checkversion (version IN VARCHAR2) IS wrong_version EXCEPTION; BEGIN IF version != 'V1.0' THEN RAISE wrong_version; END IF; END checkversion; END power_pkg;
The power demand cartridge creates the indextype for the domain index. The specification includes the list of operators supported by the indextype. It also identifies the implementation type containing the OCDI index routines.
CREATE OR REPLACE INDEXTYPE power_idxtype FOR Power_Equals(PowerDemand_Typ, NUMBER, NUMBER), Power_GreaterThan(PowerDemand_Typ, NUMBER, NUMBER), Power_LessThan(PowerDemand_Typ, NUMBER, NUMBER), Power_EqualsAny(PowerDemand_Typ, NUMBER), Power_GreaterThanAny(PowerDemand_Typ, NUMBER), Power_LessThanAny(PowerDemand_Typ, NUMBER) USING power_idxtype_im;
This section explains the parts of the power demand cartridge as they relate to extensible optimization. Explanatory text and code segments are mixed.
The table PowerCartUserStats is used to store statistics about the hourly power grid readings. These statistics will be used by the method ODCIStatsSelectivity (described later) to estimate the selectivity of operator predicates. Because of the types of statistics collected, it is more convenient to use a separate table instead of letting Oracle store the statistics.
The PowerCartUserStats table contains the following columns:
CREATE TABLE PowerCartUserStats ( -- Table for which statistics are collected tab VARCHAR2(30), -- Column for which statistics are collected col VARCHAR2(30), -- Cell position cpos NUMBER, -- Minimum power demand for the given cell lo NUMBER, -- Maximum power demand for the given cell hi NUMBER, -- Number of (non-null) power demands for the given cell nrows NUMBER ); /
The power demand cartridge creates an object type that specifies methods that will be used by the extensible optimizer. These methods are part of the ODCIStats (Oracle Data Cartridge Interface STATisticS) interface and they collectively define the methods that are called when an ANALYZE command is issued or when the optimizer is deciding on the best execution plan for a query.
Table 13-5 shows the method functions created for the power demand cartridge. (Names of all but one of the functions begin with the string ODCIStats.)
The following statement creates the power_statistics object type. This object type's ODCI methods are used to collect and delete statistics about columns and indexes, compute selectivities of predicates with operators or functions, and to compute costs of domain indexes and functions. The curnum attribute is a dummy attribute that is not used.
CREATE OR REPLACE TYPE power_statistics AS OBJECT ( curnum NUMBER, STATIC FUNCTION ODCIGetInterfaces(ifclist OUT sys.ODCIObjectList) RETURN NUMBER, STATIC FUNCTION ODCIStatsCollect(col sys.ODCIColInfo, options sys.ODCIStatsOptions, rawstats OUT RAW, env sys.ODCIEnv) RETURN NUMBER, STATIC FUNCTION ODCIStatsDelete(col sys.ODCIColInfo, env sys.ODCIEnv) RETURN NUMBER, STATIC FUNCTION ODCIStatsCollect(ia sys.ODCIIndexInfo, options sys.ODCIStatsOptions, rawstats OUT RAW, env sys.ODCIEnv) RETURN NUMBER, STATIC FUNCTION ODCIStatsDelete(ia sys.ODCIIndexInfo, env sys.ODCIEnv) RETURN NUMBER, STATIC FUNCTION ODCIStatsSelectivity(pred sys.ODCIPredInfo, sel OUT NUMBER, args sys.ODCIArgDescList, strt NUMBER, stop NUMBER, object PowerDemand_Typ, cell NUMBER, value NUMBER, env sys.ODCIEnv) RETURN NUMBER, PRAGMA restrict_references(ODCIStatsSelectivity, WNDS, WNPS), STATIC FUNCTION ODCIStatsSelectivity(pred sys.ODCIPredInfo, sel OUT NUMBER, args sys.ODCIArgDescList, strt NUMBER, stop NUMBER, object PowerDemand_Typ, value NUMBER, env sys.ODCIEnv) RETURN NUMBER, PRAGMA restrict_references(ODCIStatsSelectivity, WNDS, WNPS), STATIC FUNCTION ODCIStatsIndexCost(ia sys.ODCIIndexInfo, sel NUMBER, cost OUT sys.ODCICost, qi sys.ODCIQueryInfo, pred sys.ODCIPredInfo, args sys.ODCIArgDescList, strt NUMBER, stop NUMBER, cmppos NUMBER, cmpval NUMBER, env sys.ODCIEnv) RETURN NUMBER, PRAGMA restrict_references(ODCIStatsIndexCost, WNDS, WNPS), STATIC FUNCTION ODCIStatsIndexCost(ia sys.ODCIIndexInfo, sel NUMBER, cost OUT sys.ODCICost, qi sys.ODCIQueryInfo, pred sys.ODCIPredInfo, args sys.ODCIArgDescList, strt NUMBER, stop NUMBER, cmpval NUMBER, env sys.ODCIEnv) RETURN NUMBER, PRAGMA restrict_references(ODCIStatsIndexCost, WNDS, WNPS), STATIC FUNCTION ODCIStatsFunctionCost(func sys.ODCIFuncInfo, cost OUT sys.ODCICost, args sys.ODCIArgDescList, object PowerDemand_Typ, cell NUMBER, value NUMBER, env sys.ODCIEnv) RETURN NUMBER, PRAGMA restrict_references(ODCIStatsFunctionCost, WNDS, WNPS), STATIC FUNCTION ODCIStatsFunctionCost(func sys.ODCIFuncInfo, cost OUT sys.ODCICost, args sys.ODCIArgDescList, object PowerDemand_Typ, value NUMBER, env sys.ODCIEnv) RETURN NUMBER, PRAGMA restrict_references(ODCIStatsFunctionCost, WNDS, WNPS) ); /
The CREATE TYPE statement is followed by a CREATE TYPE BODY statement that specifies the implementation for each member function:
CREATE OR REPLACE TYPE BODY power_statistics IS ...
Each member function is described in a separate section, but the function definitions have the following general form:
STATIC FUNCTION function-name (...) RETURN NUMBER IS END;
The ODCIGetInterfaces function returns the list of names of the interfaces implemented by the type. There is only one set of the extensible optimizer interface routines, called SYS.ODCISTATS, but the server supports multiple versions of them for backward compatibility. In Oracle9i, most of the routines have a new ODCIEnv argument, and several underlying system types used by other arguments have been enhanced. To specify the Oracle9i version of the routines, function ODCIGetInterfaces must specify SYS.ODCISTATS2 in the OUT, ODCIObjectList parameter.
STATIC FUNCTION ODCIGetInterfaces(ifclist OUT sys.ODCIObjectList) RETURN NUMBER IS BEGIN ifclist := sys.ODCIObjectList(sys.ODCIObject('SYS','ODCISTATS2')); RETURN ODCIConst.Success; END ODCIGetInterfaces;
The ODCIStatsCollect function collects statistics for columns whose datatype is the PowerDemand_Typ object type. The statistics are collected for each cell in the column over all power grid readings. For a given cell, the statistics collected are the minimum and maximum power grid readings, and the number of non-null readings.
The function takes the column information as an object parameter whose type is SYS.ODCICOLINFO. The type attributes include the table name, column name, and so on. Options specified in the ANALYZE command used to collect the column statistics are also passed in as parameters. For example, if ANALYZE ESTIMATE is used, then the percentage or number of rows specified in the ANALYZE command is passed in to ODCIStatsCollect. Since the power demand cartridge uses a table to store the statistics, the output parameter rawstats is not used in this cartridge.
STATIC FUNCTION ODCIStatsCollect(col sys.ODCIColInfo, options sys.ODCIStatsOptions, rawstats OUT RAW, env sys.ODCIEnv) RETURN NUMBER IS cnum INTEGER; stmt VARCHAR2(1000); junk INTEGER; cval NUMBER; colname VARCHAR2(30) := rtrim(ltrim(col.colName, '"'), '"'); statsexists BOOLEAN := FALSE; pdemands PowerDemand_Tab%ROWTYPE; user_defined_stats PowerCartUserStats%ROWTYPE; CURSOR c1(tname VARCHAR2, cname VARCHAR2) IS SELECT * FROM PowerCartUserStats WHERE tab = tname AND col = cname; CURSOR c2 IS SELECT * FROM PowerDemand_Tab; BEGIN sys.ODCIColInfoDump(col); sys.ODCIStatsOptionsDump(options); IF (col.TableSchema IS NULL OR col.TableName IS NULL OR col.ColName IS NULL) THEN RETURN ODCIConst.Error; END IF; dbms_output.put_line('ODCIStatsCollect>>>>>'); dbms_output.put_line('**** Analyzing column ' || col.TableSchema || '.' || col.TableName || '.' || col.ColName); -- Check if statistics exist for this column FOR user_defined_stats IN c1(col.TableName, colname) LOOP statsexists := TRUE; EXIT; END LOOP;
The function checks whether statistics for this column already exist. If so, it initializes them to NULL; otherwise, it creates statistics for each of the 100 cells and initializes them to NULL.
IF not statsexists THEN -- column statistics don't exist; create entries for -- each of the 100 cells cnum := dbms_sql.open_cursor; FOR i in 1..100 LOOP stmt := 'INSERT INTO PowerCartUserStats VALUES( ' || '''' || col.TableName || ''', ' || '''' || colname || ''', ' || to_char(i) || ', ' || 'NULL, NULL, NULL)'; dbms_sql.parse(cnum, stmt, dbms_sql.native); junk := dbms_sql.execute(cnum); END LOOP; dbms_sql.close_cursor(cnum); ELSE -- column statistics exist; initialize to NULL cnum := dbms_sql.open_cursor; stmt := 'UPDATE PowerCartUserStats' || ' SET lo = NULL, hi = NULL, nrows = NULL' || ' WHERE tab = ' || col.TableName || ' AND col = ' || colname; dbms_sql.parse(cnum, stmt, dbms_sql.native); junk := dbms_sql.execute(cnum); dbms_sql.close_cursor(cnum); END IF;
The function collects statistics for the column by reading rows from the table that is being analyzed. This is done by constructing and executing a SQL statement.
-- For each cell position, the following statistics are collected: -- maximum value -- minimum value -- number of rows (excluding NULLs) cnum := dbms_sql.open_cursor; FOR i in 1..100 LOOP FOR pdemands IN c2 LOOP IF i BETWEEN pdemands.sample.CellDemandValues.FIRST AND pdemands.sample.CellDemandValues.LAST THEN cval := pdemands.sample.CellDemandValues(i); stmt := 'UPDATE PowerCartUserStats SET ' || 'lo = least(' || 'NVL(' || to_char(cval) || ', lo), ' || 'NVL(' || 'lo, ' || to_char(cval) || ')), ' || 'hi = greatest(' || 'NVL(' || to_char(cval) || ', hi), ' || 'NVL(' || 'hi, ' || to_char(cval) || ')), ' || 'nrows = decode(nrows, NULL, decode(' || to_char(cval) || ', NULL, NULL, 1), decode(' || to_char(cval) || ', NULL, nrows, nrows+1)) ' || 'WHERE cpos = ' || to_char(i) || ' AND tab = ''' || col.TableName || '''' || ' AND col = ''' || colname || ''''; dbms_sql.parse(cnum, stmt, dbms_sql.native); junk := dbms_sql.execute(cnum); END IF; END LOOP; END LOOP;
The function concludes by closing the cursor and returning a success status.
dbms_sql.close_cursor(cnum); rawstats := NULL; return ODCIConst.Success; END;
The ODCIStatsDelete function deletes statistics of columns whose datatype is the PowerDemand_Typ object type.
The function takes the column information as an object parameter whose type is SYS.ODCICOLINFO. The type attributes include the table name, column name, and so on.
STATIC FUNCTION ODCIStatsDelete(col sys.ODCIColInfo, env sys.ODCIEnv) RETURN NUMBER IS cnum INTEGER; stmt VARCHAR2(1000); junk INTEGER; colname VARCHAR2(30) := rtrim(ltrim(col.colName, '"'), '"'); statsexists BOOLEAN := FALSE; user_defined_stats PowerCartUserStats%ROWTYPE; CURSOR c1(tname VARCHAR2, cname VARCHAR2) IS SELECT * FROM PowerCartUserStats WHERE tab = tname AND col = cname; BEGIN sys.ODCIColInfoDump(col); IF (col.TableSchema IS NULL OR col.TableName IS NULL OR col.ColName IS NULL) THEN RETURN ODCIConst.Error; END IF; dbms_output.put_line('ODCIStatsDelete>>>>>'); dbms_output.put_line('**** Analyzing (delete) column ' || col.TableSchema || '.' || col.TableName || '.' || col.ColName);
The function verifies that statistics for the column exist by checking the statistics table. If statistics were not collected, then there is nothing to be done. If, however, statistics are present, it constructs and executes a SQL statement to delete the relevant rows from the statistics table.
-- Check if statistics exist for this column FOR user_defined_stats IN c1(col.TableName, colname) LOOP statsexists := TRUE; EXIT; END LOOP; -- If user-defined statistics exist, delete them IF statsexists THEN stmt := 'DELETE FROM PowerCartUserStats' || ' WHERE tab = ''' || col.TableName || '''' || ' AND col = ''' || colname || ''''; cnum := dbms_sql.open_cursor; dbms_output.put_line('ODCIStatsDelete>>>>>'); dbms_output.put_line('ODCIStatsDelete>>>>>' || stmt); dbms_sql.parse(cnum, stmt, dbms_sql.native); junk := dbms_sql.execute(cnum); dbms_sql.close_cursor(cnum); END IF; RETURN ODCIConst.Success; END;
The ODCIStatsCollect function collects statistics for domain indexes whose indextype is power_idxtype. In the power demand cartridge, this function simply analyzes the index-organized table that stores the index data.
The function takes the index information as an object parameter whose type is SYS.ODCIINDEXINFO. The type attributes include the index name, owner name, and so on. Options specified in the ANALYZE command used to collect the index statistics are also passed in as parameters. For example, if ANALYZE ESTIMATE is used, then the percentage or number of rows is passed in. The output parameter rawstats is not used.
STATIC FUNCTION ODCIStatsCollect (ia sys.ODCIIndexInfo, options sys.ODCIStatsOptions, rawstats OUT RAW, env sys.ODCIEnv) RETURN NUMBER IS cnum INTEGER; stmt VARCHAR2(1000); junk INTEGER; BEGIN -- To analyze a domain index, simply analyze the table that -- implements the index sys.ODCIIndexInfoDump(ia); sys.ODCIStatsOptionsDump(options); stmt := 'ANALYZE TABLE ' || ia.IndexSchema || '.' || ia.IndexName || '_pidx' || ' COMPUTE STATISTICS'; dbms_output.put_line('**** Analyzing index ' || ia.IndexSchema || '.' || ia.IndexName); dbms_output.put_line('SQL Statement: ' || stmt); cnum := dbms_sql.open_cursor; dbms_sql.parse(cnum, stmt, dbms_sql.native); junk := dbms_sql.execute(cnum); dbms_sql.close_cursor(cnum); rawstats := NULL; RETURN ODCIConst.Success; END;
The ODCIStatsDelete function deletes statistics for domain indexes whose indextype is power_idxtype. In the power demand cartridge, this function simply deletes the statistics of the index-organized table that stores the index data.
The function takes the index information as an object parameter whose type is SYS.ODCIINDEXINFO. The type attributes include the index name, owner name, and so on.
STATIC FUNCTION ODCIStatsDelete(ia sys.ODCIIndexInfo, env sys.ODCIEnv) RETURN NUMBER IS cnum INTEGER; stmt VARCHAR2(1000); junk INTEGER; BEGIN -- To delete statistics for a domain index, simply delete the -- statistics for the table implementing the index sys.ODCIIndexInfoDump(ia); stmt := 'ANALYZE TABLE ' || ia.IndexSchema || '.' || ia.IndexName || '_pidx' || ' DELETE STATISTICS'; dbms_output.put_line('**** Analyzing (delete) index ' || ia.IndexSchema || '.' || ia.IndexName); dbms_output.put_line('SQL Statement: ' || stmt); cnum := dbms_sql.open_cursor; dbms_sql.parse(cnum, stmt, dbms_sql.native); junk := dbms_sql.execute(cnum); dbms_sql.close_cursor(cnum); RETURN ODCIConst.Success; END;
The first definition of the ODCIStatsSelectivity function estimates the selectivity of operator or function predicates for Specific queries. For example, if a query asks for all instances where cell (3,7) has a value equal to 25, the function estimates the percentage of rows in which the given cell has the specified value. (This definition of ODCIStatsSelectivity differs from the definition in the next section in that it includes the cell parameter for the position of the cell.)
The pred parameter contains the function information (the functional implementation of an operator in an operator predicate); this parameter is an object instance of type SYS.ODCIPREDINFO. The selectivity is returned as a percentage in the sel output parameter. The args parameter (an object instance of type SYS.ODCIARGDESCLIST) contains a descriptor for each argument of the function as well as the start and stop values of the function. For example, an argument might be a column in which case the argument descriptor will contain the table name, column name, and so forth. The strt and stop parameters are the lower and upper boundary points for the function return value. If the function in a predicate contains a literal of type PowerDemand_Typ, the object parameter will contain the value in the form of an object constructor. The cell parameter is the cell position and the value parameter is the value in the cell specified by the function (PowerXxxxxSpecific_Func).
The selectivity is estimated by using a technique similar to that used for simple range predicates. For example, a simple estimate for the selectivity of a predicate like
c > v
is (M-v)/(M-m) where m and M are the minimum and maximum values, respectively, for the column c (as determined from the column statistics), provided the value v lies between m and M.
The get_selectivity function computes the selectivity of a simple range predicate given the minimum and maximum values of the column in the predicate. It assumes that the column values in the table are uniformly distributed between the minimum and maximum values.
CREATE FUNCTION get_selectivity(relop VARCHAR2, value NUMBER, lo NUMBER, hi NUMBER, ndv NUMBER) RETURN NUMBER AS sel NUMBER := NULL; ndv NUMBER; BEGIN -- This function computes the selectivity (as a percentage) -- of a predicate -- col <relop> <value> -- where <relop> is one of: =, !=, <, <=, >, >= -- <value> is one of: 0, 1 -- lo and hi are the minimum and maximum values of the column in -- the table. This function performs a simplistic estimation of the -- selectivity by assuming that the range of distinct values of -- the column is distributed uniformly in the range lo..hi and that -- each distinct value occurs nrows/(hi-lo+1) times (where nrows is -- the number of rows). IF ndv IS NULL OR ndv <= 0 THEN RETURN 0; END IF; -- col != <value> IF relop = '!=' THEN IF value between lo and hi THEN sel := 1 - 1/ndv; ELSE sel := 1; END IF; -- col = <value> ELSIF relop = '=' THEN IF value between lo and hi THEN sel := 1/ndv; ELSE sel := 0; END IF; -- col >= <value> ELSIF relop = '>=' THEN IF lo = hi THEN IF value <= lo THEN sel := 1; ELSE sel := 0; END IF; ELSIF value between lo and hi THEN sel := (hi-value)/(hi-lo) + 1/ndv; ELSIF value < lo THEN sel := 1; ELSE sel := 0; END IF; -- col < <value> ELSIF relop = '<' THEN IF lo = hi THEN IF value > lo THEN sel := 1; ELSE sel := 0; END IF; ELSIF value between lo and hi THEN sel := (value-lo)/(hi-lo); ELSIF value < lo THEN sel := 0; ELSE sel := 1; END IF; -- col <= <value> ELSIF relop = '<=' THEN IF lo = hi THEN IF value >= lo THEN sel := 1; ELSE sel := 0; END IF; ELSIF value between lo and hi THEN sel := (value-lo)/(hi-lo) + 1/ndv; ELSIF value < lo THEN sel := 0; ELSE sel := 1; END IF; -- col > <value> ELSIF relop = '>' THEN IF lo = hi THEN IF value < lo THEN sel := 1; ELSE sel := 0; END IF; ELSIF value between lo and hi THEN sel := (hi-value)/(hi-lo); ELSIF value < lo THEN sel := 1; ELSE sel := 0; END IF; END IF; RETURN least(100, ceil(100*sel)); END; /
The ODCIStatsSelectivity function estimates the selectivity for function predicates which have constant start and stop values. Further, the first argument of the function in the predicate must be a column of type PowerDemand_Typ and the remaining arguments must be constants.
STATIC FUNCTION ODCIStatsSelectivity(pred sys.ODCIPredInfo, sel OUT NUMBER, args sys.ODCIArgDescList, strt NUMBER, stop NUMBER, object PowerDemand_Typ, cell NUMBER, value NUMBER, env sys.ODCIEnv) RETURN NUMBER IS fname varchar2(30); relop varchar2(2); lo NUMBER; hi NUMBER; nrows NUMBER; colname VARCHAR2(30); statsexists BOOLEAN := FALSE; stats PowerCartUserStats%ROWTYPE; CURSOR c1(cell NUMBER, tname VARCHAR2, cname VARCHAR2) IS SELECT * FROM PowerCartUserStats WHERE cpos = cell AND tab = tname AND col = cname; BEGIN -- compute selectivity only when predicate is of the form: -- fn(col, <cell>, <value>) <relop> <val> -- In all other cases, return an error and let the optimizer -- make a guess. We also assume that the function "fn" has -- a return value of 0, 1, or NULL. -- start value IF (args(1).ArgType != ODCIConst.ArgLit AND args(1).ArgType != ODCIConst.ArgNull) THEN RETURN ODCIConst.Error; END IF; -- stop value IF (args(2).ArgType != ODCIConst.ArgLit AND args(2).ArgType != ODCIConst.ArgNull) THEN RETURN ODCIConst.Error; END IF; -- first argument of function IF (args(3).ArgType != ODCIConst.ArgCol) THEN RETURN ODCIConst.Error; END IF; -- second argument of function IF (args(4).ArgType != ODCIConst.ArgLit AND args(4).ArgType != ODCIConst.ArgNull) THEN RETURN ODCIConst.Error; END IF; -- third argument of function IF (args(5).ArgType != ODCIConst.ArgLit AND args(5).ArgType != ODCIConst.ArgNull) THEN RETURN ODCIConst.Error; END IF; colname := rtrim(ltrim(args(3).colName, '"'), '"');
The first (column) argument of the function in the predicate must have statistics collected for it (by issuing the ANALYZE command which will call ODCIStatsCollect for the column). If statistics have not been collected, ODCIStatsSelectivity returns an error status.
-- Check if the statistics table exists (we are using a -- user-defined table to store the user-defined statistics). -- Get user-defined statistics: MIN, MAX, NROWS FOR stats IN c1(cell, args(3).TableName, colname) LOOP -- Get user-defined statistics: MIN, MAX, NROWS lo := stats.lo; hi := stats.hi; nrows := stats.nrows; statsexists := TRUE; EXIT; END LOOP; -- If no user-defined statistics were collected, return error IF not statsexists THEN RETURN ODCIConst.Error; END IF;
Each Specific function predicate corresponds to an equivalent range predicate. For example, the predicate:
Power_EqualsSpecific_Func(col, 21, 25) = 0
which checks that the reading in cell 21 is not equal to 25, corresponds to the equivalent range predicate:
col[21] != 25
The ODCIStatsSelectivity function finds the corresponding range predicates for each Specific function predicate. There are several boundary cases where the selectivity can be immediately determined.
-- selectivity is 0 for "fn(col, <cell>, <value>) < 0" IF (stop = 0 AND bitand(pred.Flags, ODCIConst.PredIncludeStop) = 0) THEN sel := 0; RETURN ODCIConst.Success; END IF; -- selectivity is 0 for "fn(col, <cell>, <value>) > 1" IF (strt = 1 AND bitand(pred.Flags, ODCIConst.PredIncludeStart) = 0) THEN sel := 0; RETURN ODCIConst.Success; END IF; -- selectivity is 100% for "fn(col, <cell>, <value>) >= 0" IF (strt = 0 AND bitand(pred.Flags, ODCIConst.PredExactMatch) = 0 AND bitand(pred.Flags, ODCIConst.PredIncludeStart) > 0) THEN sel := 100; RETURN ODCIConst.Success; END IF; -- selectivity is 100% for "fn(col, <cell>, <value>) <= 1" IF (stop = 1 AND bitand(pred.Flags, ODCIConst.PredExactMatch) = 0 AND bitand(pred.Flags, ODCIConst.PredIncludeStop) > 0) THEN sel := 100; RETURN ODCIConst.Success; END IF; -- get function name IF bitand(pred.Flags, ODCIConst.PredObjectFunc) > 0 THEN fname := pred.ObjectName; ELSE fname := pred.MethodName; END IF; -- convert prefix relational operator to infix: -- "Power_EqualsSpecific_Func(col, <cell>, <value>) = 1" -- becomes "col[<cell>] = <value>" -- Power_EqualsSpecific_Func(col, <cell>, <value>) = 0 -- Power_EqualsSpecific_Func(col, <cell>, <value>) <= 0 -- Power_EqualsSpecific_Func(col, <cell>, <value>) < 1 -- can be transformed to -- col[<cell>] != <value> IF (fname LIKE upper('Power_Equals%') AND (stop = 0 OR (stop = 1 AND bitand(pred.Flags, ODCIConst.PredIncludeStop) = 0))) THEN relop := '!='; -- Power_LessThanSpecific_Func(col, <cell>, <value>) = 0 -- Power_LessThanSpecific_Func(col, <cell>, <value>) <= 0 -- Power_LessThanSpecific_Func(col, <cell>, <value>) < 1 -- can be transformed to -- col[<cell>] >= <value> ELSIF (fname LIKE upper('Power_LessThan%') AND (stop = 0 OR (stop = 1 AND bitand(pred.Flags, ODCIConst.PredIncludeStop) = 0))) THEN relop := '>='; -- Power_GreaterThanSpecific_Func(col, <cell>, <value>) = 0 -- Power_GreaterThanSpecific_Func(col, <cell>, <value>) <= 0 -- Power_GreaterThanSpecific_Func(col, <cell>, <value>) < 1 -- can be transformed to -- col[<cell>] <= <value> ELSIF (fname LIKE upper('Power_GreaterThan%') AND (stop = 0 OR (stop = 1 AND bitand(pred.Flags, ODCIConst.PredIncludeStop) = 0))) THEN relop := '<='; -- Power_EqualsSpecific_Func(col, <cell>, <value>) = 1 -- Power_EqualsSpecific_Func(col, <cell>, <value>) >= 1 -- Power_EqualsSpecific_Func(col, <cell>, <value>) > 0 -- can be transformed to -- col[<cell>] = <value> ELSIF (fname LIKE upper('Power_Equals%') AND (strt = 1 OR (strt = 0 AND bitand(pred.Flags, ODCIConst.PredIncludeStart) = 0))) THEN relop := '='; -- Power_LessThanSpecific_Func(col, <cell>, <value>) = 1 -- Power_LessThanSpecific_Func(col, <cell>, <value>) >= 1 -- Power_LessThanSpecific_Func(col, <cell>, <value>) > 0 -- can be transformed to -- col[<cell>] < <value> ELSIF (fname LIKE upper('Power_LessThan%') AND (strt = 1 OR (strt = 0 AND bitand(pred.Flags, ODCIConst.PredIncludeStart) = 0))) THEN relop := '<'; -- Power_GreaterThanSpecific_Func(col, <cell>, <value>) = 1 -- Power_GreaterThanSpecific_Func(col, <cell>, <value>) >= 1 -- Power_GreaterThanSpecific_Func(col, <cell>, <value>) > 0 -- can be transformed to -- col[<cell>] > <value> ELSIF (fname LIKE upper('Power_GreaterThan%') AND (strt = 1 OR (strt = 0 AND bitand(pred.Flags, ODCIConst.PredIncludeStart) = 0))) THEN relop := '>'; ELSE RETURN ODCIConst.Error; END IF;
After the Specific function predicate is transformed into a simple range predicate, ODCIStatsSelectivity calls get_selectivity to compute the selectivity for the range predicate (and thus, equivalently, for the Specific function predicate). It returns with a success status.
sel := get_selectivity(relop, value, lo, hi, nrows); RETURN ODCIConst.Success; END;
The second definition of the ODCIStatsSelectivity function estimates the selectivity of operator or function predicates for Any queries. For example, if a query asks for all instances where any cell has a value equal to 25, the function estimates the percentage of rows in which any cell has the specified value. (This definition of ODCIStatsSelectivity differs from the definition in the preceding section in that it does not include the cell parameter.)
The pred parameter contains the function information (the functional implementation of an operator in an operator predicate); this parameter is an object instance of type SYS.ODCIPREDINFO. The selectivity is returned as a percentage in the sel output parameter. The args parameter (an object instance of type SYS.ODCIARGDESCLIST) contains a descriptor for each argument of the function as well as the start and stop values of the function. For example, an argument might be a column in which case the argument descriptor will contain the table name, column name, and so forth. The strt and stop parameters are the lower and upper boundary points for the function return value. If the function in a predicate contains a literal of type PowerDemand_Typ, the object parameter will contain the value in the form of an object constructor. The value parameter is the value in the cell specified by the function (Power_XxxxxAny_Func).
The selectivity for Any queries can be calculated as the complement of the probability that none of the cells has the specified value. Thus, if s[i] is the selectivity of the ith cell having the given value, then the selectivity of the Any function predicate can be estimated as:
1 - (1-s[1])(1-s[2])...(1-s[100])
assuming that the value of each cell is independent of the values in other cells. This means that this version of the ODCIStatsSelectivity function (for Any queries) can compute its selectivity by calling the first definition of the ODCIStatsSelectivity function (for Specific queries).
STATIC FUNCTION ODCIStatsSelectivity(pred sys.ODCIPredInfo, sel OUT NUMBER, args sys.ODCIArgDescList, strt NUMBER, stop NUMBER, object PowerDemand_Typ, value NUMBER, env sys.ODCIEnv) RETURN NUMBER IS cellsel NUMBER; i NUMBER; specsel NUMBER; newargs sys.ODCIArgDescList := sys.ODCIArgDescList(NULL, NULL, NULL, NULL, NULL); BEGIN -- To compute selectivity for the ANY functions, call the -- selectivity function for the SPECIFIC functions. For example, -- the selectivity of the ANY predicate -- -- Power_EqualsAnyFunc(object, value) = 1 -- -- is computed as -- -- 1 - (1-s[1])(1-s[2])...(1-s[100]) -- -- where s[i] is the selectivity of the SPECIFIC predicate -- -- Power_EqualsSpecific_Func(object, i, value) = 1 -- sel := 1; newargs(1) := args(1); newargs(2) := args(2); newargs(3) := args(3); newargs(4) := sys.ODCIArgDesc(ODCIConst.ArgLit, NULL, NULL, NULL); newargs(5) := args(4); FOR i in 1..100 LOOP cellsel := NULL; specsel := power_statistics.ODCIStatsSelectivity(pred, cellsel, newargs, strt, stop, object, i, value, env); IF specsel = ODCIConst.Success THEN sel := sel * (1 - cellsel/100); END IF; END LOOP; sel := (1 - sel) * 100; RETURN ODCIConst.Success; END;
The first definition of the ODCIStatsIndexCost function estimates the cost of the domain index for Specific queries. For example, if a query asks for all instances where cell (3,7) has a value equal to 25, the function estimates the cost of the domain index access path to evaluate this query. (This definition of ODCIStatsIndexCost differs from the definition in the next section in that it includes the cmppos parameter for the position of the cell.)
The ia parameter contains the index information (an object instance of type SYS.ODCIINDEXINFO). The sel parameter is the selectivity of the operator predicate as estimated by the ODCIStatsSelectivity function for Specific queries. The estimated cost is returned in the cost output parameter. The qi parameter contains some information about the query and its environment (for example, whether the ALL_ROWS or FIRST_ROWS optimizer mode is being used). The pred parameter contains the operator information (an object instance of type SYS.ODCIPREDINFO). The args parameter contains descriptors of the value arguments of the operator as well as the start and stop values of the operator. The strt and stop parameters are the lower and upper boundary points for the operator return value. The cmppos parameter is the cell position and cmpval is the value in the cell specified by the operator (Power_XxxxxSpecific).
In the power demand cartridge, the domain index cost for Specific queries is the same as the domain index cost for Any queries, so this version of the ODCIStatsIndexCost function simply calls the second definition of the function (described in the next section).
STATIC FUNCTION ODCIStatsIndexCost(ia sys.ODCIIndexInfo, sel NUMBER, cost OUT sys.ODCICost, qi sys.ODCIQueryInfo, pred sys.ODCIPredInfo, args sys.ODCIArgDescList, strt NUMBER, stop NUMBER, cmppos NUMBER, cmpval NUMBER, env sys.ODCIEnv) RETURN NUMBER IS BEGIN -- This is the cost for queries on a specific cell; simply -- use the cost for queries on any cell. RETURN ODCIStatsIndexCost(ia, sel, cost, qi, pred, args, strt, stop, cmpval, env); END;
The second definition of the ODCIStatsIndexCost function estimates the cost of the domain index for Any queries. For example, if a query asks for all instances where any cell has a value equal to 25, the function estimates the cost of the domain index access path to evaluate this query. (This definition of ODCIStatsIndexCost differs from the definition in the preceding section in that it does not include the cmppos parameter.)
The ia parameter contains the index information (an object instance of type SYS.ODCIINDEXINFO). The sel parameter is the selectivity of the operator predicate as estimated by the ODCIStatsSelectivity function for Any queries. The estimated cost is returned in the cost output parameter. The qi parameter contains some information about the query and its environment (for example, whether the ALL_ROWS or FIRST_ROWS optimizer mode is being used). The pred parameter contains the operator information (an object instance of type SYS.ODCIPREDINFO). The args parameter contains descriptors of the value arguments of the operator as well as the start and stop values of the operator. The strt and stop parameters are the lower and upper boundary points for the operator return value. The cmpval parameter is the value in the cell specified by the operator (Power_XxxxxAny).
The index cost is estimated as the number of blocks in the index-organized table implementing the index multiplied by the selectivity of the operator predicate times a constant factor.
STATIC FUNCTION ODCIStatsIndexCost(ia sys.ODCIIndexInfo, sel NUMBER, cost OUT sys.ODCICost, qi sys.ODCIQueryInfo, pred sys.ODCIPredInfo, args sys.ODCIArgDescList, strt NUMBER, stop NUMBER, cmpval NUMBER, env sys.ODCIEnv) RETURN NUMBER IS ixtable VARCHAR2(40); numblocks NUMBER := NULL; get_table user_tables%ROWTYPE; CURSOR c1(tab VARCHAR2) IS SELECT * FROM user_tables WHERE table_name = tab; BEGIN -- This is the cost for queries on any cell. -- To compute the cost of a domain index, multiply the -- number of blocks in the table implementing the index -- with the selectivity -- Return if we don't have predicate selectivity IF sel IS NULL THEN RETURN ODCIConst.Error; END IF; cost := sys.ODCICost(NULL, NULL, NULL, NULL); -- Get name of table implementing the domain index ixtable := ia.IndexName || '_pidx'; -- Get number of blocks in domain index FOR get_table IN c1(upper(ixtable)) LOOP numblocks := get_table.blocks; EXIT; END LOOP; IF numblocks IS NULL THEN -- Exit if there are no user-defined statistics for the index RETURN ODCIConst.Error; END IF; cost.CPUCost := ceil(400*(sel/100)*numblocks); cost.IOCost := ceil(1.5*(sel/100)*numblocks); RETURN ODCIConst.Success; END;
The ODCIStatsFunctionCost function estimates the cost of evaluating a function (Power_XxxxxSpecific_Func or Power_XxxxxAny_Func).
The func parameter contains the function information; this parameter is an object instance of type SYS.ODCIFUNCINFO. The estimated cost is returned in the output cost parameter. The args parameter (an object instance of type SYS.ODCIARGDESCLIST) contains a descriptor for each argument of the function. If the function contains a literal of type PowerDemand_Typ as its first argument, the object parameter will contain the value in the form of an object constructor. The value parameter is the value in the cell specified by the function (PowerXxxxxSpecific_Func or Power_XxxxxAny_Func).
The function cost is simply estimated as some default value depending on the function name. Since the functions don't read any data from disk, the I/O cost is set to zero.
STATIC FUNCTION ODCIStatsFunctionCost(func sys.ODCIFuncInfo, cost OUT sys.ODCICost, args sys.ODCIArgDescList, object PowerDemand_Typ, value NUMBER, env sys.ODCIEnv) RETURN NUMBER IS fname VARCHAR2(30); BEGIN cost := sys.ODCICost(NULL, NULL, NULL, NULL); -- Get function name IF bitand(func.Flags, ODCIConst.ObjectFunc) > 0 THEN fname := func.ObjectName; ELSE fname := func.MethodName; END IF; IF fname LIKE upper('Power_LessThan%') THEN cost.CPUCost := 5000; cost.IOCost := 0; RETURN ODCIConst.Success; ELSIF fname LIKE upper('Power_Equals%') THEN cost.CPUCost := 7000; cost.IOCost := 0; RETURN ODCIConst.Success; ELSIF fname LIKE upper('Power_GreaterThan%') THEN cost.CPUCost := 5000; cost.IOCost := 0; RETURN ODCIConst.Success; ELSE RETURN ODCIConst.Error; END IF; END;
In order for the optimizer to use the methods defined in the power_statistics object type, they have to be associated with the appropriate database objects. The following statements do this.
-- Associate statistics type with types, indextypes, and functions ASSOCIATE STATISTICS WITH TYPES PowerDemand_Typ USING power_statistics; ASSOCIATE STATISTICS WITH INDEXTYPES power_idxtype USING power_statistics; ASSOCIATE STATISTICS WITH FUNCTIONS Power_EqualsSpecific_Func, Power_GreaterThanSpecific_Func, Power_LessThanSpecific_Func, Power_EqualsAny_Func, Power_GreaterThanAny_Func, Power_LessThanAny_Func USING power_statistics;
Analyzing tables, columns, and indexes ensures that the optimizer has the relevant statistics to estimate accurate costs for various access paths and choose a good plan. Further, the selectivity and cost functions defined in the power_statistics object type rely on the presence of statistics. The following statements analyze the database objects and verify that statistics were indeed collected.
-- Analyze the table ANALYZE TABLE PowerDemand_Tab COMPUTE STATISTICS; -- Verify that user-defined statistics were collected SELECT tab tablename, col colname, cpos, lo, hi, nrows FROM PowerCartUserStats WHERE nrows IS NOT NULL ORDER BY cpos; -- Delete the statistics ANALYZE TABLE PowerDemand_Tab DELETE STATISTICS; -- Verify that user-defined statistics were deleted SELECT tab tablename, col colname, cpos, lo, hi, nrows FROM PowerCartUserStats WHERE nrows IS NOT NULL ORDER BY cpos; -- Re-analyze the table ANALYZE TABLE PowerDemand_Tab COMPUTE STATISTICS; -- Verify that user-defined statistics were re-collected SELECT tab tablename, col colname, cpos, lo, hi, nrows FROM PowerCartUserStats WHERE nrows IS NOT NULL ORDER BY cpos;
This section explains the parts of the power demand example that perform some simple tests of the domain index. These tests consist of:
PowerDemand_Tab) and populating it with a small amount of dataThe execution plans show that a full table scan is performed in each case.
The execution plans show that Oracle is using the index and not performing full table scans, thus resulting in more efficient execution.
The statements in this section are available online in the example file (tkqxpwr.sql).
The power demand table is created with two columns:
region, to allow the electric utility to use the grid scheme in multiple areas or states. Each region (for example, New York, New Jersey, Pennsylvania, and so on) is represented by a 10x10 grid.sample, a collection of samplings (power demand readings from each cell in the grid), defined using the PowerDemand_Typ object type.
CREATE TABLE PowerDemand_Tab ( -- Region for which these power demand readings apply region NUMBER, -- Values for each "sampling" time (for a given hour) sample PowerDemand_Typ );
Several rows are inserted, representing power demand data for two regions (1 and 2) for several hourly timestamps. For simplicity, values are inserted only into the first 5 positions of each grid (the remaining 95 values are set to null).
-- The next INSERT statements "cheat" by supplying -- only 5 grid values (instead of 100). -- First 5 INSERT statements are for region 1 (1 AM to 5 AM on -- 01-Feb-1998). INSERT INTO PowerDemand_Tab VALUES(1, PowerDemand_Typ(NULL, NULL, NULL, PowerGrid_Typ(55,8,13,9,5), to_date('02-01-1998 01','MM-DD-YYYY HH')) ); INSERT INTO PowerDemand_Tab VALUES(1, PowerDemand_Typ(NULL, NULL, NULL, PowerGrid_Typ(56,8,13,9,3), to_date('02-01-1998 02','MM-DD-YYYY HH')) ); INSERT INTO PowerDemand_Tab VALUES(1, PowerDemand_Typ(NULL, NULL, NULL, PowerGrid_Typ(55,8,13,9,3), to_date('02-01-1998 03','MM-DD-YYYY HH')) ); INSERT INTO PowerDemand_Tab VALUES(1, PowerDemand_Typ(NULL, NULL, NULL, PowerGrid_Typ(54,8,13,9,3), to_date('02-01-1998 04','MM-DD-YYYY HH')) ); INSERT INTO PowerDemand_Tab VALUES(1, PowerDemand_Typ(NULL, NULL, NULL, PowerGrid_Typ(54,8,12,9,3), to_date('02-01-1998 05','MM-DD-YYYY HH')) ); -- Also insert some rows for region 2. INSERT INTO PowerDemand_Tab VALUES(2, PowerDemand_Typ(NULL, NULL, NULL, PowerGrid_Typ(9,8,11,16,5), to_date('02-01-1998 01','MM-DD-YYYY HH')) ); INSERT INTO PowerDemand_Tab VALUES(2, PowerDemand_Typ(NULL, NULL, NULL, PowerGrid_Typ(9,8,11,20,5), to_date('02-01-1998 02','MM-DD-YYYY HH')) );
Finally, the values for TotGridDemand, MaxCellDemand, and MinCellDemand are computed and set for each of the newly inserted rows, and these values are displayed.
DECLARE CURSOR c1 IS SELECT Sample, Region FROM PowerDemand_Tab FOR UPDATE; s PowerDemand_Typ; r NUMBER; BEGIN OPEN c1; LOOP FETCH c1 INTO s,r; EXIT WHEN c1%NOTFOUND; s.SetTotalDemand; s.SetMaxDemand; s.SetMinDemand; dbms_output.put_line(s.TotGridDemand); dbms_output.put_line(s.MaxCellDemand); dbms_output.put_line(s.MinCellDemand); UPDATE PowerDemand_Tab SET Sample = s WHERE CURRENT OF c1; END LOOP; CLOSE c1; END; / -- Examine the values. SELECT region, P.Sample.TotGridDemand, P.Sample.MaxCellDemand, P.Sample.MinCellDemand, to_char(P.sample.sampletime, 'MM-DD-YYYY HH') FROM PowerDemand_Tab P;
The queries is this section are executed by applying the underlying function (PowerEqualsSpecific_Func) for every row in the table, because the index has not yet been defined.
The example file includes queries that check, both for a specific cell number and for any cell number, for values equal to, greater than, and less than a specified value. For example, the equality queries are as follows:
SET SERVEROUTPUT ON ------------------------------------------------------------------- -- Query, referencing the operators (without index) ------------------------------------------------------------------- explain plan for SELECT P.Region, P.Sample.TotGridDemand ,P.Sample.MaxCellDemand, P.Sample.MinCellDemand FROM PowerDemand_Tab P WHERE Power_Equals(P.Sample,2,10) = 1; @tkoqxpll SELECT P.Region, P.Sample.TotGridDemand ,P.Sample.MaxCellDemand, P.Sample.MinCellDemand FROM PowerDemand_Tab P WHERE Power_Equals(P.Sample,2,10) = 1; explain plan for SELECT P.Region, P.Sample.TotGridDemand ,P.Sample.MaxCellDemand, P.Sample.MinCellDemand FROM PowerDemand_Tab P WHERE Power_Equals(P.Sample,1,25) = 1; @tkoqxpll SELECT P.Region, P.Sample.TotGridDemand ,P.Sample.MaxCellDemand, P.Sample.MinCellDemand FROM PowerDemand_Tab P WHERE Power_Equals(P.Sample,1,25) = 1; explain plan for SELECT P.Region, P.Sample.TotGridDemand ,P.Sample.MaxCellDemand, P.Sample.MinCellDemand FROM PowerDemand_Tab P WHERE Power_Equals(P.Sample,2,8) = 1; @tkoqxpll SELECT P.Region, P.Sample.TotGridDemand ,P.Sample.MaxCellDemand, P.Sample.MinCellDemand FROM PowerDemand_Tab P WHERE Power_Equals(P.Sample,2,8) = 1; explain plan for SELECT P.Region, P.Sample.TotGridDemand ,P.Sample.MaxCellDemand, P.Sample.MinCellDemand FROM PowerDemand_Tab P WHERE Power_EqualsAny(P.Sample,9) = 1; @tkoqxpll SELECT P.Region, P.Sample.TotGridDemand ,P.Sample.MaxCellDemand, P.Sample.MinCellDemand FROM PowerDemand_Tab P WHERE Power_EqualsAny(P.Sample,9) = 1;
The execution plans show that a full table scan is performed in each case:
OPERATIONS OPTIONS OBJECT_NAME --------------- --------------- --------------- SELECT STATEMEN TABLE ACCESS FULL POWERDEMAND_TAB
The index is created on the sample column in the power demand table.
CREATE INDEX PowerIndex ON PowerDemand_Tab(Sample) INDEXTYPE IS power_idxtype;
The queries in this section are the same as those in "Querying Without the Index", but this time the index is used.
The execution plans show that Oracle is using the domain index and not performing full table scans, thus resulting in more efficient execution. For example:
SQLPLUS> ------------------------------------------------------------------- SQLPLUS> -- Query, referencing the operators (with index) SQLPLUS> ------------------------------------------------------------------- SQLPLUS> explain plan for 2> SELECT P.Region, P.Sample.TotGridDemand ,P.Sample.MaxCellDemand, 3> P.Sample.MinCellDemand 4> FROM PowerDemand_Tab P 5> WHERE Power_Equals(P.Sample,2,10) = 1; Statement processed. SQLPLUS> @tkoqxpll SQLPLUS> set echo off Echo OFF Charwidth 15 OPERATIONS OPTIONS OBJECT_NAME --------------- --------------- --------------- SELECT STATEMEN TABLE ACCESS BY ROWID POWERDEMAND_TAB DOMAIN INDEX POWERINDEX 3 rows selected. Statement processed. Echo ON SQLPLUS> SQLPLUS> SELECT P.Region, P.Sample.TotGridDemand ,P.Sample.MaxCellDemand, 2> P.Sample.MinCellDemand 3> FROM PowerDemand_Tab P 4> WHERE Power_Equals(P.Sample,2,10) = 1; REGION SAMPLE.TOT SAMPLE.MAX SAMPLE.MIN ---------- ---------- ---------- ---------- 0 rows selected. ODCIIndexStart>>>>> ODCIIndexInfo Index owner : POWERCARTUSER Index name : POWERINDEX Table owner : POWERCARTUSER Table name : POWERDEMAND_TAB Indexed column : "SAMPLE" Indexed column type :POWERDEMAND_TYP Indexed column type schema:POWERCARTUSER ODCIPredInfo Object owner : POWERCARTUSER Object name : POWER_EQUALS Method name : Predicate bounds flag : Exact Match Include Start Key Include Stop Key start key : 1 stop key : 1 compare position : 2 compare value : 10 ODCIIndexStart>>>>>select r from POWERCARTUSER.POWERINDEX_pidx where cpos ='2' and cval ='10' ODCIIndexFetch>>>>> Nrows : 2000 ODCIIndexClose>>>>> SQLPLUS> SQLPLUS> explain plan for 2> SELECT P.Region, P.Sample.TotGridDemand ,P.Sample.MaxCellDemand, 3> P.Sample.MinCellDemand 4> FROM PowerDemand_Tab P 5> WHERE Power_Equals(P.Sample,2,8) = 1; Statement processed. SQLPLUS> @tkoqxpll SQLPLUS> set echo off Echo OFF Charwidth 15 OPERATIONS OPTIONS OBJECT_NAME --------------- --------------- --------------- SELECT STATEMEN TABLE ACCESS BY ROWID POWERDEMAND_TAB DOMAIN INDEX POWERINDEX 3 rows selected. Statement processed. Echo ON SQLPLUS> SQLPLUS> SELECT P.Region, P.Sample.TotGridDemand ,P.Sample.MaxCellDemand, 2> P.Sample.MinCellDemand 3> FROM PowerDemand_Tab P 4> WHERE Power_Equals(P.Sample,2,8) = 1; REGION SAMPLE.TOT SAMPLE.MAX SAMPLE.MIN ---------- ---------- ---------- ---------- 1 90 55 5 1 89 56 3 1 88 55 3 1 87 54 3 1 86 54 3 2 49 16 5 2 53 20 5 7 rows selected. ODCIIndexStart>>>>> ODCIIndexInfo Index owner : POWERCARTUSER Index name : POWERINDEX Table owner : POWERCARTUSER Table name : POWERDEMAND_TAB Indexed column : "SAMPLE" Indexed column type :POWERDEMAND_TYP Indexed column type schema:POWERCARTUSER ODCIPredInfo Object owner : POWERCARTUSER Object name : POWER_EQUALS Method name : Predicate bounds flag : Exact Match Include Start Key Include Stop Key start key : 1 stop key : 1 compare position : 2 compare value : 8 ODCIIndexStart>>>>>select r from POWERCARTUSER.POWERINDEX_pidx where cpos ='2' and cval ='8' ODCIIndexFetch>>>>> Nrows : 2000 ODCIIndexClose>>>>> SQLPLUS> SQLPLUS> explain plan for 2> SELECT P.Region, P.Sample.TotGridDemand ,P.Sample.MaxCellDemand, 3> P.Sample.MinCellDemand 4> FROM PowerDemand_Tab P 5> WHERE Power_EqualsAny(P.Sample,9) = 1; Statement processed. SQLPLUS> @tkoqxpll SQLPLUS> set echo off Echo OFF Charwidth 15 OPERATIONS OPTIONS OBJECT_NAME --------------- --------------- --------------- SELECT STATEMEN TABLE ACCESS BY ROWID POWERDEMAND_TAB DOMAIN INDEX POWERINDEX 3 rows selected. Statement processed. Echo ON SQLPLUS> SQLPLUS> SELECT P.Region, P.Sample.TotGridDemand ,P.Sample.MaxCellDemand, 2> P.Sample.MinCellDemand 3> FROM PowerDemand_Tab P 4> WHERE Power_EqualsAny(P.Sample,9) = 1; REGION SAMPLE.TOT SAMPLE.MAX SAMPLE.MIN ---------- ---------- ---------- ---------- 1 90 55 5 1 89 56 3 1 88 55 3 1 87 54 3 1 86 54 3 2 49 16 5 2 53 20 5 7 rows selected. ODCIIndexStart>>>>> ODCIIndexInfo Index owner : POWERCARTUSER Index name : POWERINDEX Table owner : POWERCARTUSER Table name : POWERDEMAND_TAB Indexed column : "SAMPLE" Indexed column type :POWERDEMAND_TYP Indexed column type schema:POWERCARTUSER ODCIPredInfo Object owner : POWERCARTUSER Object name : POWER_EQUALSANY Method name : Predicate bounds flag : Exact Match Include Start Key Include Stop Key start key : 1 stop key : 1 compare value : 9 ODCIIndexStart>>>>>select distinct r from POWERCARTUSER.POWERINDEX_pidx where cval ='9' ODCIIndexFetch>>>>> Nrows : 2000 ODCIIndexClose>>>>> SQLPLUS> SQLPLUS> explain plan for 2> SELECT P.Region, P.Sample.TotGridDemand ,P.Sample.MaxCellDemand, 3> P.Sample.MinCellDemand 4> FROM PowerDemand_Tab P 5> WHERE Power_GreaterThanAny(P.Sample,50) = 1; Statement processed. SQLPLUS> @tkoqxpll SQLPLUS> set echo off Echo OFF Charwidth 15 OPERATIONS OPTIONS OBJECT_NAME --------------- --------------- --------------- SELECT STATEMEN TABLE ACCESS BY ROWID POWERDEMAND_TAB DOMAIN INDEX POWERINDEX 3 rows selected. Statement processed. Echo ON SQLPLUS> SQLPLUS> SELECT P.Region, P.Sample.TotGridDemand ,P.Sample.MaxCellDemand, 2> P.Sample.MinCellDemand 3> FROM PowerDemand_Tab P 4> WHERE Power_GreaterThanAny(P.Sample,50) = 1; REGION SAMPLE.TOT SAMPLE.MAX SAMPLE.MIN ---------- ---------- ---------- ---------- 1 90 55 5 1 89 56 3 1 88 55 3 1 87 54 3 1 86 54 3 5 rows selected. ODCIIndexStart>>>>> ODCIIndexInfo Index owner : POWERCARTUSER Index name : POWERINDEX Table owner : POWERCARTUSER Table name : POWERDEMAND_TAB Indexed column : "SAMPLE" Indexed column type :POWERDEMAND_TYP Indexed column type schema:POWERCARTUSER ODCIPredInfo Object owner : POWERCARTUSER Object name : POWER_GREATERTHANANY Method name : Predicate bounds flag : Exact Match Include Start Key Include Stop Key start key : 1 stop key : 1 compare value : 50 ODCIIndexStart>>>>>select distinct r from POWERCARTUSER.POWERINDEX_pidx where cv al >'50' ODCIIndexFetch>>>>> Nrows : 2000 ODCIIndexClose>>>>> SQLPLUS> SQLPLUS> explain plan for 2> SELECT P.Region, P.Sample.TotGridDemand ,P.Sample.MaxCellDemand, 3> P.Sample.MinCellDemand 4> FROM PowerDemand_Tab P 5> WHERE Power_LessThanAny(P.Sample,50) = 0; Statement processed. SQLPLUS> @tkoqxpll SQLPLUS> set echo off Echo OFF Charwidth 15 OPERATIONS OPTIONS OBJECT_NAME --------------- --------------- --------------- SELECT STATEMEN TABLE ACCESS BY ROWID POWERDEMAND_TAB DOMAIN INDEX POWERINDEX 3 rows selected. Statement processed. Echo ON SQLPLUS> SQLPLUS> SELECT P.Region, P.Sample.TotGridDemand ,P.Sample.MaxCellDemand, 2> P.Sample.MinCellDemand 3> FROM PowerDemand_Tab P 4> WHERE Power_LessThanAny(P.Sample,50) = 0; REGION SAMPLE.TOT SAMPLE.MAX SAMPLE.MIN ---------- ---------- ---------- ---------- 0 rows selected. ODCIIndexStart>>>>> ODCIIndexInfo Index owner : POWERCARTUSER Index name : POWERINDEX Table owner : POWERCARTUSER Table name : POWERDEMAND_TAB Indexed column : "SAMPLE" Indexed column type :POWERDEMAND_TYP Indexed column type schema:POWERCARTUSER ODCIPredInfo Object owner : POWERCARTUSER Object name : POWER_LESSTHANANY Method name : Predicate bounds flag : Exact Match Include Start Key Include Stop Key start key : 0 stop key : 0 compare value : 50 ODCIIndexStart>>>>>select distinct r from POWERCARTUSER.POWERINDEX_pidx minus se lect distinct r from POWERCARTUSER.POWERINDEX_pidx where cval <'50' ODCIIndexFetch>>>>> Nrows : 2000 ODCIIndexClose>>>>>
|
![]() Copyright © 1996, 2002 Oracle Corporation. All Rights Reserved. |
|