| Oracle9i Application Developer's Guide - Advanced Queuing Release 2 (9.2) Part Number A96587-01 |
|
This chapter describes the administrative interface to Oracle Advanced Queuing. We discuss each operation (such as "Creating a Queue Table") in terms of a use case by that name. Each use case is laid out as follows:
Table 9-1, "Use Case Model: Administrative Interface -- Basic Operations" indicates with a + where examples are provided for specific use cases and in which programmatic environment.
The table refers to programmatic environments with the following abbreviations:


See Also:
|
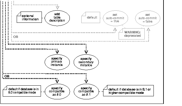
Create a queue table for messages of a predefined type.
aq$_<queue_table_name>_e.aq$<queue_table_name>.aq$_<queue_table_name>_t.aq$_<queue_table_name>_i.aq$_<queue_table_name>_s. This table stores information about the subscribers.aq$_<queue_table_name>_r. This table stores information about rules on subscriptions.aq$_<queue_table_name>_h.This table stores the dequeue history data.CLOB, BLOB, or BFILE objects are valid in an AQ message. You can propagate these object types using AQ propagation with Oracle since release 8.1.x. To enqueue an object type that has an LOB, you must first set the LOB_attribute to EMPTY_BLOB() and perform the enqueue. You can then select the LOB locator that was generated from the queue table's view and use the standard LOB operations. See the Oracle9i Application Developer's Guide - Large Objects (LOBs) for more information.See Chapter 3, "AQ Programmatic Environments" for a list of available functions in each programmatic environment. Use the following syntax references for each programmatic environment:
See Chapter 3, "AQ Programmatic Environments" for a list of available functions in each programmatic environment.:
CREATE type aq.Message_typ as object ( Subject VARCHAR2(30), Text VARCHAR2(80)); /* Note: if you do not stipulate a schema, you default to the user's schema. */ EXECUTE dbms_aqadm.create_queue_table ( Queue_table => 'aq.ObjMsgs_qtab', Queue_payload_type => 'aq.Message_typ');
EXECUTE dbms_aqadm.create_queue_table ( Queue_table => 'aq.RawMsgs_qtab', Queue_payload_type => 'RAW');
execute dbms_aqadm.create_queue_table( queue_table => 'OS_orders_pr_mqtab', comment => 'Overseas Shipping MultiConsumer Orders queue table', multiple_consumers => TRUE, queue_payload_type => 'SYS.XMLType', compatible => '8.1');
EXECUTE dbms_aqadm.create_queue_table ( Queue_table => 'aq.PriorityMsgs_qtab', Sort_list => 'PRIORITY,ENQ_TIME', Queue_payload_type => 'aq.Message_typ');
EXECUTE dbms_aqadm.create_queue_table ( Queue_table => 'aq.MultiConsumerMsgs_qtab', Multiple_consumers => TRUE, Queue_payload_type => 'aq.Message_typ');
EXECUTE dbms_aqadm.create_queue_table ( Queue_table => 'aq.Multiconsumermsgs8_1qtab', Multiple_consumers => TRUE, Compatible => '8.1', Queue_payload_type => 'aq.Message_typ');
EXECUTE dbms_aqadm.create_queue_table( queue_table => 'aq.aq_tbsMsg_qtab', queue_payload_type => 'aq.Message_typ', storage_clause => 'tablespace aq_tbs');
BEGIN dbms_aqadm.create_queue_table ( queue_table=> 'AQ_ADMIN.TEST', queue_payload_type=> 'RAW', storage_clause=> 'STORAGE (FREELISTS 4 FREELIST GROUPS 2)', compatible => '8.1'); COMMIT; END;
OOO4O uses database functionality for this operation.
Examples depicting how to create a queue table using Java follow.
public static void example(AQSession aq_sess) throws AQException { AQQueueTableProperty qtable_prop; AQQueueProperty queue_prop; AQQueueTable q_table; AQQueue queue; /* Create a AQQueueTableProperty object (payload type Message_typ): */ qtable_prop = new AQQueueTableProperty("AQ.MESSAGE_TYP"); /* Create a queue table in aq schema */ q_table = aq_sess.createQueueTable ("aq", "ObjMsgs_qtab", qtable_prop); System.out.println("Successfully created ObjMsgs_qtab in aq schema"); }
public static void example(AQSession aq_sess) throws AQException { AQQueueTableProperty qtable_prop; AQQueueProperty queue_prop; AQQueueTable q_table; AQQueue queue; /* Create a AQQueueTableProperty object (payload type RAW): */ qtable_prop = new AQQueueTableProperty("RAW"); /* Create a queue table in aq schema */ q_table = aq_sess.createQueueTable ("aq", "RawMsgs_qtab", qtable_prop); System.out.println("Successfully created RawMsgs_qtab in aq schema"); } 3. Create a queue table for multiple consumers and prioritized messages public static void example(AQSession aq_sess) throws AQException { AQQueueTableProperty qtable_prop; AQQueueProperty queue_prop; AQQueueTable q_table; AQQueue queue; qtable_prop = new AQQueueTableProperty("RAW"); /* Enable multiple consumers */ qtable_prop.setMultiConsumer(true); qtable_prop.setCompatible("8.1"); /* Specify sort order as priority,enqueue_time */ qtable_prop.setSortOrder("PRIORITY,ENQ_TIME"); /* Create a queue table in aq schema */ q_table = aq_sess.createQueueTable ("aq", "PriorityMsgs_qtab", qtable_prop); System.out.println("Successfully created PriorityMsgs_qtab in aq schema"); }
public static void example(AQSession aq_sess) throws AQException { AQQueueTableProperty qtable_prop; AQQueueProperty queue_prop; AQQueueTable q_table; AQQueue queue; /* Create a AQQueueTableProperty object (payload type Message_typ): */ qtable_prop = new AQQueueTableProperty("AQ.MESSAGE_TYP"); /* Specify tablespace for queue table */ qtable_prop.setStorageClause("tablespace aq_tbs"); /* Create a queue table in aq schema */ q_table = aq_sess.createQueueTable ("aq", "aq_tbsMsg_qtab", qtable_prop); }

| See Also:
Table 9-1 for a list of adminstrative interface basic operations |
See Chapter 3, "AQ Programmatic Environments" for a list of available functions in each programmatic environment. Use the following syntax references for each programmatic environment:

| See Also:
Table 9-1 for a list of adminstrative interface basic operations |
Alter the existing properties of a queue table.
When a queue, queue table, or subscriber is created, modified, or dropped, and if GLOBAL_TOPIC_ENABLED = TRUE, a corresponding LDAP entry is also created.
See Chapter 3, "AQ Programmatic Environments" for a list of available functions in each programmatic environment. Use the following syntax references for each programmatic environment:
See Chapter 3, "AQ Programmatic Environments" for a list of available functions in each programmatic environment. Examples are provided in the following programmatic environments.
/* Altering the table to change the primary, secondary instances for queue owner (only applies to Real Application Clusters environments). The primary instance is the instance number of the primary owner of the queue table. The secondary instance is the instance number of the secondary owner of the queue table. */ EXECUTE dbms_aqadm.alter_queue_table ( Queue_table => 'aq.ObjMsgs_qtab', Primary_instance => 3, Secondary_instance => 2); /* Altering the table to change the comment for a queue table: */ EXECUTE dbms_aqadm.alter_queue_table ( Queue_table => 'aq.ObjMsgs_qtab', Comment => 'revised usage for queue table'); /* Altering the table to change the comment for a queue table and use nonrepudiation: */ EXECUTE dbms_aqadm.alter_queue_table ( Queue_table => 'aq.ObjMsgs_qtab', Comment => 'revised usage for queue table',
/* Alter a queue table */ public static void example(AQSession aq_sess) throws AQException { AQQueueTableProperty qtable_prop; AQQueueTable q_table; q_table = aq_sess.getQueueTable ("aq", "ObjMsgs_qtab"); /* Get queue table properties: */ qtable_prop = q_table.getProperty(); /* Alter the queue table comment and instance affinity */ q_table.alter("altered queue table", 3, 2); }

| See Also:
Table 9-1 for a list of adminstrative interface basic operations |
Drop an existing queue table. Note that you must stop and drop all the queues in a queue tables before the queue table can be dropped. You must do this explicitly unless the force option is used in which case this done automatically.
When a queue, queue table, or subscriber is created, modified, or dropped, and if GLOBAL_TOPIC_ENABLED = TRUE, a corresponding LDAP entry is also created or dropped.
See Chapter 3, "AQ Programmatic Environments" for a list of available functions in each programmatic environment. Use the following syntax references for each programmatic environment:
See Chapter 3, "AQ Programmatic Environments" for a list of available functions in each programmatic environment. Examples are provided in the following programmatic environments.
/* Drop the queue table (for which all queues have been previously dropped by the user) */ EXECUTE dbms_aqadm.drop_queue_table ( queue_table => 'aq.Objmsgs_qtab');
/* Drop the queue table and force all queues to be stopped and dropped by the system */ EXECUTE dbms_aqadm.drop_queue_table ( queue_table => 'aq.Objmsgs_qtab', force => TRUE);
/* Drop a queue table - for which all queues have already been dropped by the user */ public static void example(AQSession aq_sess) throws AQException { AQQueueTable q_table; q_table = aq_sess.getQueueTable ("aq", "ObjMsgs_qtab"); /* Drop the queue table*/ q_table.drop(false); System.out.println("Successful drop"); } /* Drop the queue table (and force all queues to be stopped and dropped by the user */ public static void example(AQSession aq_sess) throws AQException { AQQueueTable q_table; q_table = aq_sess.getQueueTable ("aq", "ObjMsgs_qtab"); /* Drop the queue table (and automatically drop all queues inside it */ q_table.drop(true); System.out.println("Successful drop"); }


| See Also:
Table 9-1 for a list of adminstrative interface basic operations |
Create a queue in the specified queue table.
CREATE_QUEUE, it can be enabled by calling START_QUEUE. By default, the queue is created with both enqueue and dequeue disabled.See Chapter 3, "AQ Programmatic Environments" for a list of available functions in each programmatic environment. Use the following syntax references for each programmatic environment:
See Chapter 3, "AQ Programmatic Environments" for a list of available functions in each programmatic environment. Examples are provided in the following programmatic environments.
/* Create a message type: */ CREATE type aq.Message_typ as object ( Subject VARCHAR2(30), Text VARCHAR2(80)); /* Create a object type queue table and queue: */ EXECUTE dbms_aqadm.create_queue_table ( Queue_table => 'aq.ObjMsgs_qtab', Queue_payload_type => 'aq.Message_typ'); EXECUTE dbms_aqadm.create_queue ( Queue_name => 'msg_queue', Queue_table => 'aq.ObjMsgs_qtab');
/* Create a RAW type queue table and queue: */ EXECUTE dbms_aqadm.create_queue_table ( Queue_table => 'aq.RawMsgs_qtab', Queue_payload_type => 'RAW'); /* Create queue: */ EXECUTE dbms_aqadm.create_queue ( Queue_name => 'raw_msg_queue', Queue_table => 'aq.RawMsgs_qtab'); Create a prioritized message queue table and queue /* Create a queue table for priortized messages: */ EXECUTE dbms_aqadm.create_queue_table ( Queue_table => 'aq.PriorityMsgs_qtab', Sort_list => 'PRIORITY,ENQ_TIME', Queue_payload_type => 'aq.Message_typ'); /* Create queue: */ EXECUTE dbms_aqadm.create_queue ( Queue_name => 'priority_msg_queue', Queue_table => 'aq.PriorityMsgs_qtab');
/* Create a queue table for multi-consumers: */ EXECUTE dbms_aqadm.create_queue_table ( queue_table => 'aq.MultiConsumerMsgs_qtab', Multiple_consumers => TRUE, Queue_payload_type => 'aq.Message_typ'); /* Create queue: */ EXECUTE dbms_aqadm.create_queue ( Queue_name => 'MultiConsumerMsg_queue', Queue_table => 'aq.MultiConsumerMsgs_qtab');
/* Create queue: */ EXECUTE dbms_aqadm.create_queue ( Queue_name => 'AnotherMsg_queue', queue_table => 'aq.MultiConsumerMsgs_qtab');
/* Create a queue table for multi-consumers compatible with Release 8.1: */ EXECUTE dbms_aqadm.create_queue_table ( Queue_table => 'aq.MultiConsumerMsgs81_qtab', Multiple_consumers => TRUE, Compatible => '8.1', Queue_payload_type => 'aq.Message_typ'); EXECUTE dbms_aqadm.create_queue ( Queue_name => 'MultiConsumerMsg81_queue', Queue_table => 'aq.MultiConsumerMsgs81_qtab');
public static void example(AQSession aq_sess) throws AQException { AQQueueProperty queue_prop; AQQueueTable q_table; AQQueue queue; q_table = aq_sess.getQueueTable ("aq", "ObjMsgs_qtab"); /* Create a new AQQueueProperty object: */ queue_prop = new AQQueueProperty(); queue = aq_sess.createQueue (q_table, "msg_queue", queue_prop); System.out.println("Successful createQueue"); }
public static void example(AQSession aq_sess) throws AQException { AQQueueProperty queue_prop; AQQueueTable q_table; AQQueue queue; q_table = aq_sess.getQueueTable ("aq", "RawMsgs_qtab"); /* Create a new AQQueueProperty object: */ queue_prop = new AQQueueProperty(); queue = aq_sess.createQueue (q_table, "msg_queue", queue_prop); System.out.println("Successful createQueue"); }
public static void example(AQSession aq_sess) throws AQException { AQQueueTableProperty qtable_prop; AQQueueProperty queue_prop; AQQueueTable q_table; AQQueue queue; AQAgent agent; qtable_prop = new AQQueueTableProperty("RAW"); qtable_prop.setMultiConsumer(true); qtable_prop.setSortOrder("priority,enq_time"); q_table = aq_sess.createQueueTable ("aq", "PriorityMsgs_qtab", qtable_prop); queue_prop = new AQQueueProperty(); queue = aq_sess.createQueue (q_table, "priority_msg_queue", queue_prop); }

| See Also:
Table 9-1 for a list of adminstrative interface basic operations |
Create a nonpersistent queue.
The queue may be either single-consumer or multiconsumer queue. All queue names must be unique within a schema. The queues are created in a 8.1 compatible system-created queue table (AQ$_MEM_SC or AQ$_MEM_MC) in the same schema as that specified by the queue name. If the queue name does not specify a schema name, the queue is created in the login user's schema. Once a queue is created with CREATE_NP_QUEUE, it can be enabled by calling START_QUEUE. By default, the queue is created with both enqueue and dequeue disabled.
You can enqueue RAW and Object Type (ADT) messages into a nonpersistent queue. You cannot dequeue from a nonpersistent queue. The only way to retrieve a message from a nonpersistent queue is by using the OCI notification mechanism (see Registering for Notification).
You cannot invoke the listen call on a nonpersistent queue (see "Listening to One or More Single-Consumer Queues").
See Chapter 3, "AQ Programmatic Environments" for a list of available functions in each programmatic environment. Use the following syntax references for each programmatic environment:
See Chapter 3, "AQ Programmatic Environments" for a list of available functions in each programmatic environment. Examples are provided in the following programmatic environments.
/* Create a nonpersistent single-consumer queue (Note: this is not preceded by creation of a queue table) */ EXECUTE dbms_aqadm.create_np_queue( Queue_name => 'Singleconsumersmsg_npque', Multiple_consumers => FALSE); /* Create a nonpersistent multi-consumer queue (Note: this is not preceded by creation of a queue table) */ EXECUTE dbms_aqadm.create_np_queue( Queue_name => 'Multiconsumersmsg_npque', Multiple_consumers => TRUE);
Feature not available through Java API.

| See Also:
Table 9-1 for a list of adminstrative interface basic operations |
Alter existing properties of a queue. Only max_retries, comment, retry_delay, and retention_time can be altered.
To view retained messages, you can either dequeue by message ID or use SQL.
When a queue, queue table, or subscriber is created, modified, or dropped, and if GLOBAL_TOPIC_ENABLED = TRUE, a corresponding LDAP entry is also created.
See Chapter 3, "AQ Programmatic Environments" for a list of available functions in each programmatic environment. Use the following syntax references for each programmatic environment:
See Chapter 3, "AQ Programmatic Environments" for a list of available functions in each programmatic environment. Examples are provided in the following programmatic environments:
/* Alter queue to change retention time, saving messages for 1 day after dequeueing: */ EXECUTE dbms_aqadm.alter_queue ( queue_name => 'aq.Anothermsg_queue', retention_time => 86400);
/* Alter a queue to change retention time, saving messages for 1 day after dequeuing */ public static void example(AQSession aq_sess) throws AQException { AQQueueProperty queue_prop; AQQueue queue; /* Get the queue object */ queue = aq_sess.getQueue("AQ", "Anothermsg_queue"); /* Create a new AQQueueProperty object: */ queue_prop = new AQQueueProperty(); /* Change retention time to 1 day */ queue_prop.setRetentionTime(new Double(86400)); /* Alter the queue */ queue.alterQueue(queue_prop); }

| See Also:
Table 9-1 for a list of adminstrative interface basic operations |
Drops an existing queue. DROP_QUEUE is not allowed unless STOP_QUEUE has been called to disable the queue for both enqueuing and dequeuing. All the queue data is deleted as part of the drop operation.
When a queue, queue table, or subscriber is created, modified, or dropped, and if GLOBAL_TOPIC_ENABLED = TRUE, a corresponding LDAP entry is also created.
See Chapter 3, "AQ Programmatic Environments" for a list of available functions in each programmatic environment. Use the following syntax references for each programmatic environment:
See Chapter 3, "AQ Programmatic Environments" for a list of available functions in each programmatic environment. Examples are provided in the following programmatic environments:
/* Stop the queue preparatory to dropping it (a queue may be dropped only after it has been succesfully stopped for enqueing and dequeing): */ EXECUTE dbms_aqadm.stop_queue ( Queue_name => 'aq.Msg_queue'); /* Drop queue: */ EXECUTE dbms_aqadm.drop_queue ( Queue_name => 'aq.Msg_queue');
EXECUTE DBMS_AQADM.DROP_QUEUE( queue_name => 'Nonpersistent_singleconsumerq1'); EXECUTE DBMS_AQADM.DROP_QUEUE( queue_name => 'Nonpersistent_multiconsumerq1');
/* Drop a queue */ public static void example(AQSession aq_sess) throws AQException { AQQueue queue; /* Get the queue object */ queue = aq_sess.getQueue("AQ", "Msg_queue"); /* Stop the queue first */ queue.stop(true); /* Drop the queue */ queue.drop(); }

| See Also:
Table 9-1 for a list of adminstrative interface basic operations |
Creates a message format transformation. The transformation must be a SQL function with input type from_type, returning an object of type to_type. It can also be a SQL expression of type to_type, referring to from_type. All references to from_type must be of the form source.user_data.
To use this feature, you must be granted execute privileges on dbms_transform. You must also have execute privileges on the user-defined types that are the source and destination types of the transformation, and have execute privileges on any PL/SQL function being used in the transformation function. The transformation cannot write the database state (that is, perform DML) or commit or rollback the current transaction.
See Chapter 3, "AQ Programmatic Environments" for a list of available functions in each programmatic environment. Use the following syntax references for each programmatic environment:
See Chapter 3, "AQ Programmatic Environments" for a list of available functions in each programmatic environment. Examples are provided in the following programmatic environments:
dbms_transform.create_transformation(schema => 'scott', name => 'test_transf', from_schema => 'scott', from_type => 'type1', to_schema => 'scott', to_type => 'type2', transformation => 'scott.trans_func(source.user_data)');
Or you can do the following:
dbms_transform.create_transformation(schema => 'scott', name => 'test_transf', from_schema => 'scott', from_type => 'type1, to_schema => 'scott', to_type => 'type2', transformation => 'scott.type2(source.user_data.attr2, source.user_data.attr1)');
No example is provided with this release.

| See Also:
Table 9-1 for a list of adminstrative interface basic operations |
This feature is used to change the transformation function and to specify transformations for each attribute of the target type. If the attribute number 0 is specified, then the transformation expression singularly defines the transformation from the source to target types. All references to from_type must be of the form source.user_data. All references to the attributes of the source type must be prefixed by source.user_data.
To use this feature, you must be granted execute privileges on dbms_transform. You must also have execute privileges on the user-defined types that are the source and destination types of the transformation, and have execute privileges on any PL/SQL function being used in the transformation function.
See Chapter 3, "AQ Programmatic Environments" for a list of available functions in each programmatic environment. Use the following syntax references for each programmatic environment:

| See Also:
Table 9-1 for a list of adminstrative interface basic operations |

| See Also:
Table 9-1 for a list of adminstrative interface basic operations |
To drop a transformation.
To use this feature, you must be granted execute privileges on dbms_transform. You must also have execute privileges on the user-defined types that are the source and destination types of the transformation, and have execute privileges on any PL/SQL function being used in the transformation function.
See Chapter 3, "AQ Programmatic Environments" for a list of available functions in each programmatic environment. Use the following syntax references for each programmatic environment:

| See Also:
Table 9-1 for a list of adminstrative interface basic operations |
Enables the specified queue for enqueuing or dequeueing.
After creating a queue the administrator must use START_QUEUE to enable the queue. The default is to enable it for both ENQUEUE and DEQUEUE. Only dequeue operations are allowed on an exception queue. This operation takes effect when the call completes and does not have any transactional characteristics.
See Chapter 3, "AQ Programmatic Environments" for a list of available functions in each programmatic environment. Use the following syntax references for each programmatic environment:
See Chapter 3, "AQ Programmatic Environments" for a list of available functions in each programmatic environment. Examples are provided in the following programmatic environments:
/* Start a queue and enable both enqueue and dequeue: */ EXECUTE dbms_aqadm.start_queue ( queue_name => 'Msg_queue');
/* Start a previously stopped queue for dequeue only */ EXECUTE dbms_aqadm.start_queue ( queue_name => 'aq.msg_queue', dequeue => TRUE, enqueue => FALSE);
/* Start a queue - enable both enqueue and dequeue */ public static void example(AQSession aq_sess) throws AQException { AQQueue queue; /* Get the queue object */ queue = aq_sess.getQueue("AQ", "Msg_queue"); /* Enable enqueue and dequeue */ queue.start(); } /* Start a previously stopped queue for dequeue only */ public static void example(AQSession aq_sess) throws AQException { AQQueue queue; /* Get the queue object */ queue = aq_sess.getQueue("AQ", "Msg_queue"); /* Enable enqueue and dequeue */ queue.start(false, true); }

| See Also:
Table 9-1 for a list of adminstrative interface basic operations |
Disables enqueuing or dequeuing on the specified queue.
By default, this call disables both ENQUEUEs or DEQUEUEs. A queue cannot be stopped if there are outstanding transactions against the queue. This operation takes effect when the call completes and does not have any transactional characteristics.
See Chapter 3, "AQ Programmatic Environments" for a list of available functions in each programmatic environment. Use the following syntax references for each programmatic environment:
See Chapter 3, "AQ Programmatic Environments" for a list of available functions in each programmatic environment. Examples are provided in the following programmatic environments:
/* Stop the queue: */ EXECUTE dbms_aqadm.stop_queue ( queue_name => 'aq.Msg_queue');
/* Stop a queue - wait for oustanding transactions */ public static void example(AQSession aq_sess) throws AQException { AQQueue queue; /* Get the queue object */ queue = aq_sess.getQueue("AQ", "Msg_queue"); /* Enable enqueue and dequeue */ queue.stop(true); }

| See Also:
Table 9-1 for a list of adminstrative interface basic operations |
To grant AQ system privileges to users and roles. The privileges are ENQUEUE_ANY, DEQUEUE_ANY, MANAGE_ANY. Initially, only SYS and SYSTEM can use this procedure successfully.
See Chapter 3, "AQ Programmatic Environments" for a list of available functions in each programmatic environment. Use the following syntax references for each programmatic environment:
Not applicable.
See Chapter 3, "AQ Programmatic Environments" for a list of available functions in each programmatic environment. Examples are provided in the following programmatic environments:
/* User AQADM grants the rights to enqueue and dequeue to ANY queues: */
CONNECT aqadm/aqadm; EXECUTE DBMS_AQADM.GRANT_SYSTEM_PRIVILEGE( privilege => 'ENQUEUE_ANY', grantee => 'Jones', admin_option => FALSE); EXECUTE DBMS_AQADM.GRANT_SYSTEM_PRIVILEGE( privilege => 'DEQUEUE_ANY', grantee => 'Jones', admin_option => FALSE);
Feature not available through Java API

| See Also:
Table 9-1 for a list of adminstrative interface basic operations |
To revoke AQ system privileges from users and roles. The privileges are ENQUEUE_ANY, DEQUEUE_ANY and MANAGE_ANY. The ADMIN option for a system privilege cannot be selectively revoked.
Not applicable.
See Chapter 3, "AQ Programmatic Environments" for a list of available functions in each programmatic environment. Use the following syntax references for each programmatic environment:
See Chapter 3, "AQ Programmatic Environments" for a list of available functions in each programmatic environment. Examples are provided in the following programmatic environments:
/* To revoke the DEQUEUE_ANY system privilege from Jones. */ CONNECT system/manager; execute DBMS_AQADM.REVOKE_SYSTEM_PRIVILEGE(privilege=>'DEQUEUE_ANY', grantee=>'Jones');

| See Also:
Table 9-1 for a list of adminstrative interface basic operations |
To grant privileges on a queue to users and roles. The privileges are ENQUEUE or DEQUEUE. Initially, only the queue table owner can use this procedure to grant privileges on the queues.
Not applicable.
See Chapter 3, "AQ Programmatic Environments" for a list of available functions in each programmatic environment. Use the following syntax references for each programmatic environment:
See Chapter 3, "AQ Programmatic Environments" for a list of available functions in each programmatic environment. Examples are provided in the following programmatic environments:
/* User grants the access right for both enqueue and dequeue rights using DBMS_AQADM.GRANT. */ EXECUTE DBMS_AQADM.GRANT_QUEUE_PRIVILEGE ( privilege => 'ALL', queue_name => 'aq.multiconsumermsg81_queue', grantee => 'Jones', grant_option => TRUE);
/* Grant enqueue and dequeue privileges on queue to user 'Jones' */ public static void example(AQSession aq_sess) throws AQException { AQQueue queue; /* Get the queue object */ queue = aq_sess.getQueue("AQ", "multiconsumermsg81_queue"); /* Enable enqueue and dequeue */ queue.grantQueuePrivilege("ALL", "Jones", true); }

| See Also:
Table 9-1 for a list of adminstrative interface basic operations |
To revoke privileges on a queue from users and roles. The privileges are ENQUEUE or DEQUEUE.
To revoke a privilege, the revoker must be the original grantor of the privilege. The privileges propagated through the GRANT option are revoked if the grantor's privileges are revoked.
See Chapter 3, "AQ Programmatic Environments" for a list of available functions in each programmatic environment. Use the following syntax references for each programmatic environment:
See Chapter 3, "AQ Programmatic Environments" for a list of available functions in each programmatic environment. Examples are provided in the following programmatic environments:
/* User can revoke the dequeue right of a grantee on a specific queue leaving the grantee with only the enqueue right: */ CONNECT scott/tiger; EXECUTE DBMS_AQADM.REVOKE_QUEUE_PRIVILEGE( privilege => 'DEQUEUE', queue_name => 'scott.ScottMsgs_queue', grantee => 'Jones');
/* User can revoke the dequeue right of a grantee on a specific queue, leaving only the enqueue right */ public static void example(AQSession aq_sess) throws AQException { AQQueue queue; /* Get the queue object */ queue = aq_sess.getQueue("SCOTT", "ScottMsgs_queue"); /* Enable enqueue and dequeue */ queue.revokeQueuePrivilege("DEQUEUE", "Jones"); }

| See Also:
Table 9-1 for a list of adminstrative interface basic operations |
Adds a default subscriber to a queue.
rule => 'PRIORITY <= 3 AND CORRID = ''FROM JAPAN'''
Note that these are all single quotation marks.
DBMS_TRANSFORM package. (See theOracle9i Supplied PL/SQL Packages and Types Reference for more information.)XMLType.existsNode() and XMLType.extract().See Chapter 3, "AQ Programmatic Environments" for a list of available functions in each programmatic environment. Use the following syntax references for each programmatic environment:
See Chapter 3, "AQ Programmatic Environments" for a list of available functions in each programmatic environment. Examples are provided in the following programmatic environments:
/* Anonymous PL/SQL block for adding a subscriber at a designated queue in a designated schema at a database link: */ DECLARE subscriber sys.aq$_agent; BEGIN subscriber := sys.aq$_agent ('subscriber1', 'aq2.msg_queue2@london', null); DBMS_AQADM.ADD_SUBSCRIBER( queue_name => 'aq.multi_queue', subscriber => subscriber); END; /* Add a subscriber with a rule: */ DECLARE subscriber sys.aq$_agent; BEGIN subscriber := sys.aq$_agent('subscriber2', 'aq2.msg_queue2@london', null); DBMS_AQADM.ADD_SUBSCRIBER( queue_name => 'aq.multi_queue', subscriber => subscriber, rule => 'priority < 2'); END;
/* Add a subscriber with a rule and specify a transformation */ DECLARE subscriber sys.aq$_agent; BEGIN subscriber := sys.aq$_agent('subscriber2', 'aq2.msg_queue2@london', null); DBMS_AQADM.ADD_SUBSCRIBER( queue_name => 'aq.multi_queue', subscriber => subscriber, transformation => 'AQ.msg_map'); /* Where the transformation was created as */ EXECUTE DBMS_TRANSFORM.CREATE_TRANSFORMATION ( schema => 'AQ', name => 'msg_map', from_schema => 'AQ', from_type => 'purchase_order1', to_schema => 'AQ', to_type => 'purchase_order2', transformation => 'AQ.transform_PO(source.user_data)'); END;
DECLARE subscriber sys.aq$_agent; BEGIN subscriber := sys.aq$_agent('East_Shipping','ES.ES_bookedorders_que',null); DBMS_AQADM.ADD_SUBSCRIBER( queue_name => 'OE.OE_bookedorders_que', subscriber => subscriber, rule => 'tab.user_data.orderregion = ''EASTERN'' OR (tab.user_data.ordertype = ''RUSH'' AND tab.user_data.customer.country = ''USA'') '); END; /* Add a rule-based subscriber for Overseas Shipping */ DECLARE subscriber aq$_agent; BEGIN subscriber := aq$_agent('Overseas_DHL', null, null); dbms_aqadm.add_subscriber( queue_name => 'OS.OS_bookedorders_que', subscriber => subscriber, rule => 'tab.user_data.xdata.extract(''/ORDER_ TYP/ORDERTYPE/text()'').getStringVal()=''RUSH'''); END;
/* Setup */ public static void setup(AQSession aq_sess) throws AQException { AQQueueTableProperty qtable_prop; AQQueueProperty queue_prop; AQQueueTable q_table; AQQueue queue; /* Create a AQQueueTable property object */ qtable_prop = new AQQueueTableProperty("AQ.MESSAGE_TYP"); qtable_prop.setMultiConsumer(true); q_table = aq_sess.createQueueTable ("aq", "multi_qtab", qtable_prop); /* Create a new AQQueueProperty object: */ queue_prop = new AQQueueProperty(); queue = aq_sess.createQueue (q_table, "multi_queue", queue_prop); } /* Add subscribers to a queue */ public static void example(AQSession aq_sess) throws AQException { AQQueue queue; AQAgent agent1; AQAgent agent2; /* Get the queue object */ queue = aq_sess.getQueue("AQ", "multi_queue"); /* add a subscriber */ agent1 = new AQAgent("subscriber1", "aq2.msg_queue2@london"); queue.addSubscriber(agent1, null); /* add a subscriber with a rule */ agent2 = new AQAgent("subscriber2", "aq2.msg_queue2@london"); queue.addSubscriber(agent2, "priority < 2"); } /* Add a subscriber with a rule */ public static void example(AQSession aq_sess) throws AQException { AQQueue queue; AQAgent agent1; /* Get the queue object */ queue = aq_sess.getQueue("OE", "OE_bookedorders_que"); /* add a subscriber */ agent1 = new AQAgent("East_Shipping", "ES.ES_bookedorders_que"); queue.addSubscriber(agent1, "tab.user_data.orderregion='EASTERN' OR " + "(tab.user_data.ordertype='RUSH' AND " + "tab.user_data.customer.country='USA')"); }

| See Also:
Table 9-1 for a list of adminstrative interface basic operations |
Alter existing properties of a subscriber to a specified queue. Only the rule can be altered.
The rule, the transformation, or both can be altered. If you only alter one of the attributes, the rule, or the transformation of the subscriber, specify the existing value of the other attribute to the alter call.
When a queue, queue table, or subscriber is created, modified, or dropped, and if GLOBAL_TOPIC_ENABLED = TRUE, a corresponding LDAP entry is also created.
See Chapter 3, "AQ Programmatic Environments" for a list of available functions in each programmatic environment. Use the following syntax references for each programmatic environment:
See Chapter 3, "AQ Programmatic Environments" for a list of available functions in each programmatic environment. Examples are provided in the following programmatic environments:
/* Add a subscriber with a rule: */ DECLARE subscriber sys.aq$_agent; BEGIN subscriber := sys.aq$_agent('SUBSCRIBER1', 'aq2.msg_queue2@london', null); DBMS_AQADM.ADD_SUBSCRIBER( queue_name => 'aq.msg_queue', subscriber => subscriber, rule => 'priority < 2'); END; /* Change rule for subscriber: */ DECLARE subscriber sys.aq$_agent; BEGIN subscriber := sys.aq$_agent('SUBSCRIBER1', 'aq2.msg_queue2@london', null); DBMS_AQADM.ALTER_SUBSCRIBER( queue_name => 'aq.msg_queue', subscriber => subscriber, rule => 'priority = 1'); END;
/* Add a subscriber with transformation */ EXECUTE DBMS_AQADM.ADD_SUBSCRIBER ('aq.msg_queue', aq$_agent('subscriber1', 'aq2.msg_queue2@london', null), 'AQ.MSG_MAP1'); /* Alter the subscriber*/ EXECUTE DBMS_AQADM.ALTER_SUBSCRIBER ('aq.msg_queue', aq$_agent ('subscriber1', 'aq2.msg_queue2@london', null), 'AQ.MSG.MAP2');
/* Alter the rule for a subscriber */ public static void example(AQSession aq_sess) throws AQException { AQQueue queue; AQAgent agent1; AQAgent agent2; /* Get the queue object */ queue = aq_sess.getQueue("AQ", "multi_queue"); /* add a subscriber */ agent1 = new AQAgent("subscriber1", "aq2.msg_queue2@london"); queue.alterSubscriber(agent1, "priority=1"); }

| See Also:
Table 9-1 for a list of adminstrative interface basic operations |
Remove a default subscriber from a queue.
This operation takes effect immediately and the containing transaction is committed. All references to the subscriber in existing messages are removed as part of the operation.
When a queue, queue table, or subscriber is created, modified, or dropped, and if GLOBAL_TOPIC_ENABLED = TRUE, a corresponding LDAP entry is also created.
See Chapter 3, "AQ Programmatic Environments" for a list of available functions in each programmatic environment. Use the following syntax references for each programmatic environment:
See Chapter 3, "AQ Programmatic Environments" for a list of available functions in each programmatic environment. Examples are provided in the following programmatic environments.
Examples in the following programmatic environments are provided:
DECLARE subscriber sys.aq$_agent; BEGIN subscriber := sys.aq$_agent('subscriber1','aq2.msg_queue2', NULL); DBMS_AQADM.REMOVE_SUBSCRIBER( queue_name => 'aq.multi_queue', subscriber => subscriber); END;
/* Remove a subscriber */ public static void example(AQSession aq_sess) throws AQException { AQQueue queue; AQAgent agent1; AQAgent agent2; /* Get the queue object */ queue = aq_sess.getQueue("AQ", "multi_queue"); /* add a subscriber */ agent1 = new AQAgent("subscriber1", "aq2.msg_queue2@london"); queue.removeSubscriber(agent1); }

| See Also:
Table 9-1 for a list of adminstrative interface basic operations |
Schedule propagation of messages from a queue to a destination identified by a specific dblink.
Messages may also be propagated to other queues in the same database by specifying a NULL destination. If a message has multiple recipients at the same destination in either the same or different queues the message will be propagated to all of them at the same time.
See Chapter 17, "Internet Access to Advanced Queuing" for information on propagating messages over HTTP or HTTPS.
See Chapter 3, "AQ Programmatic Environments" for a list of available functions in each programmatic environment. Use the following syntax references for each programmatic environment:
See Chapter 3, "AQ Programmatic Environments" for a list of available functions in each programmatic environment. Examples are provided in the following programmatic environments:
/* Schedule propagation from queue aq.q1def to other queues in the same
database */
EXECUTE DBMS_AQADM.SCHEDULE_PROPAGATION(
Queue_name => 'aq.q1def');
/* Schedule a propagation from queue aq.q1def to other queues in another database */ EXECUTE DBMS_AQADM.SCHEDULE_PROPAGATION( Queue_name => 'aq.q1def', Destination => 'another_db.world');
/* Setup */
public static void setup(AQSession aq_sess) throws AQException
{
AQQueueTableProperty qtable_prop;
AQQueueProperty queue_prop;
AQQueueTable q_table;
AQQueue queue;
qtable_prop = new AQQueueTableProperty("AQ.MESSAGE_TYP");
qtable_prop.setMultiConsumer(true);
q_table = aq_sess.createQueueTable ("aq", "objmsgs_qtab", qtable_prop);
/* Create a new AQQueueProperty object: */
queue_prop = new AQQueueProperty();
queue = aq_sess.createQueue (q_table, "q1def", queue_prop);
}
/* Schedule propagation from a queue to other queues in the same database */
public static void example(AQSession aq_sess) throws AQException
{
AQQueue queue;
AQAgent agent1;
AQAgent agent2;
/* Get the queue object */
queue = aq_sess.getQueue("AQ", "q1def");
queue.schedulePropagation(null, null, null, null, null);
}
/* Schedule propagation from a queue to other queues in another database */
public static void example(AQSession aq_sess) throws AQException
{
AQQueue queue;
AQAgent agent1;
AQAgent agent2;
/* Get the queue object */
queue = aq_sess.getQueue("AQ", "q1def");
queue.schedulePropagation("another_db.world", null, null, null, null);
}

| See Also:
Table 9-1 for a list of adminstrative interface basic operations |
Unscheduled previously scheduled propagation of messages from a queue to a destination identified by a specific dblink.
Not applicable.
See Chapter 3, "AQ Programmatic Environments" for a list of available functions in each programmatic environment. Use the following syntax references for each programmatic environment:
See Chapter 3, "AQ Programmatic Environments" for a list of available functions in each programmatic environment. Examples are provided in the following programmatic environments:
/* Unschedule propagation from queue aq.q1def to other queues in the same database */ EXECUTE DBMS_AQADM.UNSCHEDULE_PROPAGATION(queue_name => 'aq.q1def');
/* Unschedule propagation from queueaq.q1defto other queues in another database reached by the database linkanother_db.world*/ EXECUTE DBMS_AQADM.UNSCHEDULE_PROPAGATION( Queue_name => 'aq.q1def', Destination => 'another_db.world');
/* Unschedule propagation from a queue to other queues in the same database */
public static void example(AQSession aq_sess) throws AQException
{
AQQueue queue;
AQAgent agent1;
AQAgent agent2;
/* Get the queue object */
queue = aq_sess.getQueue("AQ", "q1def");
queue.unschedulePropagation(null);
}
/* Unschedule propagation from a queue to other queues in another database */
public static void example(AQSession aq_sess) throws AQException
{
AQQueue queue;
AQAgent agent1;
AQAgent agent2;
/* Get the queue object */
queue = aq_sess.getQueue("AQ", "q1def");
queue.unschedulePropagation("another_db.world");
}

| See Also:
Table 9-1 for a list of adminstrative interface basic operations |
Verify that the source and destination queues have identical types. The result of the verification is stored in sys.aq$_Message_types tables, overwriting all previous output of this command.
If the source and destination queues do not have identical types and a transformation was specified, the transformation must map the source queue type to the destination queue type.
|
Note: The |
See Chapter 3, "AQ Programmatic Environments" for a list of available functions in each programmatic environment. Use the following syntax references for each programmatic environment:
See Chapter 3, "AQ Programmatic Environments" for a list of available functions in each programmatic environment. Examples are provided in the following programmatic environments:
|
Note: You may need to set up the following data structures for certain examples to work: EXECUTE DBMS_AQADM.CREATE_QUEUE ( queue_name => 'aq.q2def', queue_table => 'aq.objmsgs_qtab'); |
/* Verify if the source and destination queues have the same type. The
function has the side effect of inserting/updating the entry for the source
and destination queues in the dictionary table AQ$_MESSAGE_TYPES */
DECLARE
rc BINARY_INTEGER;
BEGIN
/* Verify if the queues aquser.q1def and aquser.q2def in the local database
have the same payload type */
DBMS_AQADM.VERIFY_QUEUE_TYPES(
src_queue_name => 'aq.q1def',
dest_queue_name => 'aq.q2def',
rc => rc);
DBMS_OUTPUT.PUT_LINE(rc);
END;
Feature not available through Java API

| See Also:
Table 9-1 for a list of adminstrative interface basic operations |
To alter parameters for a propagation schedule.
Not applicable.
See Chapter 3, "AQ Programmatic Environments" for a list of available functions in each programmatic environment. Use the following syntax references for each programmatic environment:
See Chapter 3, "AQ Programmatic Environments" for a list of available functions in each programmatic environment. Examples are provided in the following programmatic environments:
/* Alter schedule from queue aq.q1def to other queues in the same database */ EXECUTE DBMS_AQADM.ALTER_PROPAGATION_SCHEDULE( Queue_name => 'aq.q1def', Duration => '2000', Next_time => 'SYSDATE + 3600/86400', Latency => '32');
/* Alter schedule from queue aq.q1def to other queues in another database
reached by the database link another_db.world */
EXECUTE DBMS_AQADM.ALTER_PROPAGATION_SCHEDULE(
Queue_name => 'aq.q1def',
Destination => 'another_db.world',
Duration => '2000',
Next_time => 'SYSDATE + 3600/86400',
Latency => '32');
/* Alter propagation schedule from a queue to other queues
in the same database */
public static void example(AQSession aq_sess) throws AQException
{
AQQueue queue;
AQAgent agent1;
AQAgent agent2;
/* Get the queue object */
queue = aq_sess.getQueue("AQ", "q1def");
queue.alterPropagationSchedule(null, new Double(2000),
"SYSDATE + 3600/86400", new Double(32));
}
/* Unschedule propagation from a queue to other queues in another database */
public static void example(AQSession aq_sess) throws AQException
{
AQQueue queue;
AQAgent agent1;
AQAgent agent2;
/* Get the queue object */
queue = aq_sess.getQueue("AQ", "q1def");
queue.alterPropagationSchedule("another_db.world", new Double(2000),
"SYSDATE + 3600/86400", new Double(32));
}

| See Also:
Table 9-1 for a list of adminstrative interface basic operations |
To enable a previously disabled propagation schedule.
Not applicable.
See Chapter 3, "AQ Programmatic Environments" for a list of available functions in each programmatic environment. Use the following syntax references for each programmatic environment:
DBMS_AQADM.ENABLE_PROPAGATION_SCHEDULE procedureSee Chapter 3, "AQ Programmatic Environments" for a list of available functions in each programmatic environment. Examples are provided in the following programmatic environments:
/* Enable propagation from queue aq.q1def to other queues in the same database */ EXECUTE DBMS_AQADM.ENABLE_PROPAGATION_SCHEDULE( Queue_name => 'aq.q1def');
/* Enable propagation from queue aq.q1def to other queues in another database reached by the database link another_db.world */ EXECUTE DBMS_AQADM.ENABLE_PROPAGATION_SCHEDULE( Queue_name => 'aq.q1def', Destination => 'another_db.world');
/* Enable propagation from a queue to other queues in the same database */
public static void example(AQSession aq_sess) throws AQException
{
AQQueue queue;
AQAgent agent1;
AQAgent agent2;
/* Get the queue object */
queue = aq_sess.getQueue("AQ", "q1def");
queue.enablePropagationSchedule(null);
}
/* Enable propagation from a queue to other queues in another database */
public static void example(AQSession aq_sess) throws AQException
{
AQQueue queue;
AQAgent agent1;
AQAgent agent2;
/* Get the queue object */
queue = aq_sess.getQueue("AQ", "q1def");
queue.enablePropagationSchedule("another_db.world");
}

| See Also:
Table 9-1 for a list of adminstrative interface basic operations |
To disable a previously enabled propagation schedule.
Not applicable.
See Chapter 3, "AQ Programmatic Environments" for a list of available functions in each programmatic environment. Use the following syntax references for each programmatic environment:
DBMS_AQADM.DISABLE_PROPAGATION_SCHEDULE procedureSee Chapter 3, "AQ Programmatic Environments" for a list of available functions in each programmatic environment. Examples are provided in the following programmatic environments:
/* Disable a propagation from queue aq.q1def to other queues in the same database */ EXECUTE DBMS_AQADM.DISABLE_PROPAGATION_SCHEDULE( Queue_name => 'aq.q1def');
/* Disable a propagation from queue aq.q1def to other queues in another database reached by the database link another_db.world */ EXECUTE DBMS_AQADM.DISABLE_PROPAGATION_SCHEDULE( Queue_name => 'aq.q1def', Destination => 'another_db.world');
/* Disable propagation from a queue to other queues in the same database */
public static void example(AQSession aq_sess) throws AQException
{
AQQueue queue;
AQAgent agent1;
AQAgent agent2;
/* Get the queue object */
queue = aq_sess.getQueue("AQ", "q1def");
queue.disablePropagationSchedule(null);
}
/* Disable propagation from a queue to other queues in another database */
public static void example(AQSession aq_sess) throws AQException
{
AQQueue queue;
AQAgent agent1;
AQAgent agent2;
/* Get the queue object */
queue = aq_sess.getQueue("AQ", "q1def");
queue.disablePropagationSchedule("another_db.world");
}

| See Also:
Table 9-1 for a list of adminstrative interface basic operations |
Registers an agent for AQ Internet access using HTTP/SMTP protocols.
The SYS.AQ$INTERNET_USERS view has a list of all AQ Internet agents.
When an AQ agent is created, altered, or dropped, an LDAP entry is created for the agent if the following are true:
GLOBAL_TOPIC_ENABLED = TRUEcertificate_location is specifiedSee Chapter 3, "AQ Programmatic Environments" for a list of available functions in each programmatic environment. Use the following syntax references for each programmatic environment:
DBMS_AQADM.CREATE_AQ_AGENT procedureSee Chapter 3, "AQ Programmatic Environments" for a list of available functions in each programmatic environment. Examples are provided in the following programmatic environments:

| See Also:
Table 9-1 for a list of adminstrative interface basic operations |
Alters an agent registered for AQ Internet access.
When an AQ agent is created, altered, or dropped, an LDAP entry is created for the agent if the following are true:
GLOBAL_TOPIC_ENABLED = TRUEcertificate_location is specifiedSee Chapter 3, "AQ Programmatic Environments" for a list of available functions in each programmatic environment. Use the following syntax references for each programmatic environment:
DBMS_AQADM.ALTER_AQ_AGENT ProcedureSee Chapter 3, "AQ Programmatic Environments" for a list of available functions in each programmatic environment. Examples are provided in the following programmatic environments:

| See Also:
Table 9-1 for a list of adminstrative interface basic operations |
Drops an agent that was previously registered for AQ Internet access.
When an AQ agent is created, altered, or dropped, an LDAP entry is created for the agent if the following are true:
GLOBAL_TOPIC_ENABLED = TRUEcertificate_location is specifiedSee Chapter 3, "AQ Programmatic Environments" for a list of available functions in each programmatic environment. Use the following syntax references for each programmatic environment:
DBMS_AQADM.DROP_AQ_AGENT ProcedureSee Chapter 3, "AQ Programmatic Environments" for a list of available functions in each programmatic environment. Examples are provided in the following programmatic environments:

| See Also:
Table 9-1 for a list of adminstrative interface basic operations |
Grants an AQ Internet agent the privileges of a specific database user. The AQ Internet agent should have been previously created using the CREATE_AQ_AGENT procedure.
The SYS.AQ$INTERNET_USERS view has a list of all AQ Internet agents and the names of the database users whose privileges are granted to them.
See Chapter 3, "AQ Programmatic Environments" for a list of available functions in each programmatic environment. Use the following syntax references for each programmatic environment:
DBMS_AQADM.ENABLE_DB_ACCESS ProcedureSee Chapter 3, "AQ Programmatic Environments" for a list of available functions in each programmatic environment. Examples are provided in the following programmatic environments:

| See Also:
Table 9-1 for a list of adminstrative interface basic operations |
Revokes the privileges of a specific database user from an AQ Internet agent. The AQ Internet agent should have been previously granted those privileges using the ENABLE_DB_ACCESS procedure.
See Chapter 3, "AQ Programmatic Environments" for a list of available functions in each programmatic environment. Use the following syntax references for each programmatic environment:
DBMS_AQADM.DISABLE_DB_ACCESS ProcedureSee Chapter 3, "AQ Programmatic Environments" for a list of available functions in each programmatic environment. Examples are provided in the following programmatic environments:

| See Also:
Table 9-1 for a list of adminstrative interface basic operations |
To add an alias to the LDAP server.
This call takes the name of an alias and the distinguished name of an AQ object in LDAP, and creates the alias that points to the AQ object. The alias is placed immediately under the distinguished name of the database server. The object to which the alias points can be a queue, an agent, or a connection factory.
See Chapter 3, "AQ Programmatic Environments" for a list of available functions in each programmatic environment. Use the following syntax references for each programmatic environment:
DBMS_AQADM.ADD_ALIAS_TO_LDAP ProcedureSee Chapter 3, "AQ Programmatic Environments" for a list of available functions in each programmatic environment. Examples are provided in the following programmatic environments:

| See Also:
Table 9-1 for a list of adminstrative interface basic operations |
To remove an alias from the LDAP server.
This call takes the name of an alias as the argument, and removes the alias entry in the LDAP server. It is assumed that the alias is placed immediately under the database server in the LDAP directory.
See Chapter 3, "AQ Programmatic Environments" for a list of available functions in each programmatic environment. Use the following syntax references for each programmatic environment:
DBMS_AQADM.DEL_ALIAS_FROM_LDAP ProcedureSee Chapter 3, "AQ Programmatic Environments" for a list of available functions in each programmatic environment. Examples are provided in the following programmatic environments:
|
![]() Copyright © 1996, 2002 Oracle Corporation. All Rights Reserved. |
|