| Oracle® Database SQL Reference 10g Release 1 (10.1) Part Number B10759-01 |
|
|
View PDF |
Purpose
Use the CREATE TABLESPACE statement to create a tablespace, which is an allocation of space in the database that can contain schema objects.
A permanent tablespace contains persistent schema objects. Objects in permanent tablespaces are stored in datafiles.
An undo tablespace is a type of permanent tablespace used by Oracle Database to manage undo data if you are running your database in automatic undo management mode. Oracle strongly recommends that you use automatic undo management mode rather than using rollback segments for undo.
A temporary tablespace contains schema objects only for the duration of a session. Objects in temporary tablespaces are stored in tempfiles.
When you create a tablespace, it is initially a read/write tablespace. You can subsequently use the ALTER TABLESPACE statement to take the tablespace offline or online, add datafiles or tempfiles to it, or make it a read-only tablespace.
You can also drop a tablespace from the database with the DROP TABLESPACE statement.
|
See Also:
|
Additional Topics
Prerequisites
You must have the CREATE TABLESPACE system privilege. To create the SYSAUX tablespace, you must have the SYSDBA system privilege.
Before you can create a tablespace, you must create a database to contain it, and the database must be open.
To use objects in a tablespace other than the SYSTEM tablespace:
If you are running the database in automatic undo management mode, then at least one UNDO tablespace must be online.
If you are running the database in manual undo management mode, then at least one rollback segment other than the SYSTEM rollback segment must be online.
|
Note: Oracle strongly recommends that you run your database in automatic undo management mode. For more information, please refer to Oracle Database Administrator's Guide. |
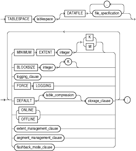
Syntax

(permanent_tablespace_clause, temporary_tablespace_clause , undo_tablespace_clause )

(file_specification::=, logging_clause::=, table_compression::=, storage_clause::=, extent_management_clause ::=, segment_management_clause ::=, flashback_mode_clause ::=)
|
See Also: "PERMANENT | TEMPORARY Clauses" for information on these keywords, which were part of the preceding syntax in earlier releases |







(file_specification::=, tablespace_group_clause, extent_management_clause ::=)


(file_specification::=, extent_management_clause ::=, tablespace_retention_clause ::=)

Semantics
Use this clause to determine whether the tablespace is a bigfile or smallfile tablespace. This clause overrides any default tablespace type setting for the database.
A bigfile tablespace contains only one datafile or tempfile, which can contain up to 232 or 4G blocks. The maximum size of the single datafile or tempfile is 128 terabytes (TB) for a tablespace with 32K blocks and 32TB for a tablespace with 8K blocks.
A smallfile tablespace is a traditional Oracle tablespace, which can contain 1022 datafiles or tempfiles, each of which can contain up to 222 or 4M blocks.
If you omit this clause, then Oracle Database uses the current default tablespace type of permanent or temporary tablespace set for the database. If you specify BIGFILE for a permanent tablespace, then the database by default creates a locally managed tablespace with automatic segment-space management.
You can specify only one datafile in the DATAFILE clause or one tempfile in the TEMPFILE clause.
You cannot specify EXTENT MANAGEMENT DICTIONARY.
Use the following clauses to create a permanent tablespace. (Some of these clauses are also used to create a temporary or undo tablespace.)
Specify the name of the tablespace to be created.
SYSAUX is a required auxiliary system tablespace. You must use the CREATE TABLESPACE statement to create the SYSAUX tablespace if you are upgrading from a release prior to Oracle Database 10g. You must have the SYSDBA system privilege to specify this clause, and you must have opened the database in MIGRATE mode.
You must specify EXTENT MANAGEMENT LOCAL and SEGMENT SPACE MANAGEMENT AUTO for the SYSAUX tablespace. The DATAFILE clause is optional only if you have enabled Oracle-managed files. See "DATAFILE | TEMPFILE Clause " for the behavior of the DATAFILE clause.
Take care to allocate sufficient space for the SYSAUX tablespace. For guidelines on creating this tablespace, please refer to Oracle Database Upgrade Guide.
You cannot specify OFFLINE or TEMPORARY for the SYSAUX tablespace.
Specify the datafiles to make up the permanent tablespace or the tempfiles to make up the temporary tablespace. Use the datafile_tempfile_spec form of file_specification to create regular datafiles and tempfiles in an operating system file system or to create Automatic Storage Management disk group files.
You must specify the DATAFILE or TEMPFILE clause unless you have enabled Oracle-managed files by setting a value for the DB_CREATE_FILE_DEST initialization parameter. For Automatic Storage Management diskgroup files, the parameter must be set to a multiple file creation form of Automatic Storage Management filenames. If this parameter is set, then the database creates a system-named 100 MB file in the default file destination specified in the parameter. The file has AUTOEXTEND enabled and an unlimited maximum size.
|
Note: Media recovery does not recognize tempfiles. |
|
See Also:
|
For operating systems that support raw devices, the REUSE keyword of datafile_tempfile_spec has no meaning when specifying a raw device as a datafile. Such a CREATE TABLESPACE statement will succeed whether or not you specify REUSE.
You can create a tablespace within an Automatic Storage Management disk group by providing only the disk group name in the datafile_tempfile_spec. In this case, Automatic Storage Management creates a datafile in the specified disk group with a system-generated filename. The datafile is auto-extensible with an unlimited maximum size and a default size of 100 MB. You can use the autoextend_clause to override the default size.
If you use one of the reference forms of the ASM_filename, which refers to an existing file, then you must also specify REUSE.
|
Note: On some operating systems, Oracle does not allocate space for a tempfile until the tempfile blocks are actually accessed. This delay in space allocation results in faster creation and resizing of tempfiles, but it requires that sufficient disk space is available when the tempfiles are later used. To avoid potential problems, before you create or resize a tempfile, ensure that the available disk space exceeds the size of the new tempfile or the increased size of a resized tempfile. The excess space should allow for anticipated increases in disk space use by unrelated operations as well. Then proceed with the creation or resizing operation. |
|
See Also:
|
This clause is valid only for a dictionary-managed tablespace.Specify the minimum size of an extent in the tablespace. This clause lets you control free space fragmentation in the tablespace by ensuring that the size of every used or free extent in a tablespace is at least as large as, and is a multiple of, integer.
|
See Also: Oracle Database Concepts for more information about usingMINIMUM EXTENT to control fragmentation |
Use the BLOCKSIZE clause to specify a nonstandard block size for the tablespace. In order to specify this clause, the DB_CACHE_SIZE and at least one DB_nK_CACHE_SIZE parameter must be set, and the integer you specify in this clause must correspond with the setting of one DB_nK_CACHE_SIZE parameter setting.
You cannot specify nonstandard block sizes for a temporary tablespace or if you intend to assign this tablespace as the temporary tablespace for any users.
|
See Also: Oracle Database Reference for information on theDB_nK_CACHE_SIZE parameter and Oracle Database Administrator's Guide for information on allowing multiple block sizes in the buffer cache and for restrictions on using multiple block sizes in partitioned objects |
Specify the default logging attributes of all tables, indexes, materialized views, materialized view logs, and partitions within the tablespace. LOGGING is the default. This clause is not valid for a temporary or undo tablespace.
The tablespace-level logging attribute can be overridden by logging specifications at the table, index, materialized view, materialized view log, and partition levels.
Use this clause to put the tablespace into FORCE LOGGING mode. Oracle Database will log all changes to all objects in the tablespace except changes to temporary segments, overriding any NOLOGGING setting for individual objects. The database must be open and in READ WRITE mode.
This setting does not exclude the NOLOGGING attribute. That is, you can specify both FORCE LOGGING and NOLOGGING. In this case, NOLOGGING is the default logging mode for objects subsequently created in the tablespace, but the database ignores this default as long as the tablespace or the database is in FORCE LOGGING mode. If you subsequently take the tablespace out of FORCE LOGGING mode, then the NOLOGGING default is once again enforced.
|
Note: FORCE LOGGING mode can have performance effects. Please refer to Oracle Database Administrator's Guide for information on when to use this setting. |
You cannot specify FORCE LOGGING for an undo or temporary tablespace.
This clause is valid only for a dictionary-managed tablespace. Oracle strongly recommends that you create tablespaces that are locally managed rather than dictionary managed.
This clause lets you specify default storage parameters for all objects created in the tablespace and default compression of data for all tables created in the tablespace. This clause is not valid for a temporary tablespace.
|
See Also:
|
Use these clauses to determine whether the tablespace is online or offline. This clause is not valid for a temporary tablespace.
Specify ONLINE to make the tablespace available immediately after creation to users who have been granted access to the tablespace. This is the default.
Specify OFFLINE to make the tablespace unavailable immediately after creation.
The data dictionary view DBA_TABLESPACES indicates whether each tablespace is online or offline.
In earlier releases, you could specify the TEMPORARY keyword after specifying the tablespace name to create a temporary tablespace. (The PERMANENT keyword was available for syntactic consistency.) This syntax has been deprecated. It is still supported in case you are using dictionary-managed tablespaces, which are not supported by the CREATE TEMPORARY TABLESPACE syntax. If you do use this syntax, you cannot specify the EXTENT MANAGEMENT LOCAL clause or the BLOCKSIZE clause.
Oracle strongly recommends that you create locally managed temporary tablespaces containing tempfiles by using the temporary_tablespace_clause. The creation of new dictionary-managed tablespaces is scheduled for desupport.
The extent_management_clause lets you specify how the extents of the tablespace will be managed.
|
Note: Once you have specified extent management with this clause, you can change extent management only by migrating the tablespace. |
Specify LOCAL if you want the tablespace to be locally managed. Locally managed tablespaces have some part of the tablespace set aside for a bitmap. This is the default for permanent tablespaces. Temporary tablespaces are always automatically created with locally managed extents.
AUTOALLOCATE specifies that the tablespace is system managed. Users cannot specify an extent size. You cannot specify AUTOALLOCATE for a temporary tablespace.
UNIFORM specifies that the tablespace is managed with uniform extents of SIZE bytes.The default SIZE is 1 megabyte. All extents of temporary tablespaces are of uniform size, so this keyword is optional for a temporary tablespace. However, you must specify UNIFORM in order to specify SIZE. You cannot specify UNIFORM for an undo tablespace.
Specify DICTIONARY if you want the tablespace to be managed using dictionary tables.
You cannot specify DICTIONARY if the SYSTEM tablespace of the database is locally managed or if you have specified the temporary_tablespace_clause.
|
Note: Oracle strongly recommends that you create only locally managed tablespaces. Locally managed tablespaces are much more efficiently managed than dictionary-managed tablespaces. The creation of new dictionary-managed tablespaces is scheduled for desupport. |
If you do not specify the extent_management_clause, then Oracle Database interprets the MINIMUM EXTENT clause and the DEFAULT storage_clause to determine extent management.
If you do not specify the DEFAULT storage_clause, then the database creates a locally managed autoallocated tablespace.
If you did specify the DEFAULT storage_clause, then:
If you specified the MINIMUM EXTENT clause, then the database evaluates whether the values of MINIMUM EXTENT, INITIAL, and NEXT are equal and the value of PCTINCREASE is 0. If they are equal, then the database creates a locally managed uniform tablespace with extent size = INITIAL. If the MINIMUM EXTENT, INITIAL, and NEXT parameters are not equal, or if PCTINCREASE is not 0, then the database ignores any extent storage parameters you may specify and creates a locally managed, autoallocated tablespace.
If you did not specify MINIMUM EXTENT clause, then the database evaluates only whether the storage values of INITIAL and NEXT are equal and PCTINCREASE is 0. If they are equal, then the tablespace is locally managed and uniform. Otherwise, the tablespace is locally managed and autoallocated.
A permanent locally managed tablespace can contain only permanent objects. If you need a locally managed tablespace to store temporary objects, for example, if you will assign it as a user's temporary tablespace, then use the temporary_tablespace_clause.
If you specify LOCAL, then you cannot specify DEFAULT storage_clause, MINIMUM EXTENT, or the temporary_tablespace_clause.
|
See Also: Oracle Database Upgrade Guide for information on changing extent management by migrating tablespaces and "Creating a Locally Managed Tablespace: Example" |
The segment_management_clause is relevant only for permanent, locally managed tablespaces. It lets you specify whether Oracle Database should track the used and free space in the segments in the tablespace using free lists or bitmaps. This clause is not valid for a temporary tablespace.
Specify AUTO if you want the database to manage the free space of segments in the tablespace using a bitmap. If you specify AUTO, then the database ignores any specification for PCTUSED, FREELIST, and FREELIST GROUPS in subsequent storage specifications for objects in this tablespace. This setting is called automatic segment-space management. Oracle strongly recommends that you create tablespaces with automatic segment-space management.
Specify MANUAL if you want the database to manage the free space of segments in the tablespace using free lists.
To determine the segment management of an existing tablespace, query the SEGMENT_SPACE_MANAGEMENT column of the DBA_TABLESPACES or USER_TABLESPACES data dictionary view.
|
Notes: If you specifyAUTO segment management, then:
|
You can specify this clause only for a permanent, locally managed tablespace.
You cannot specify this clause for the SYSTEM tablespace.
|
See Also:
|
Use this clause in conjunction with the ALTER DATABASE FLASHBACK clause to specify whether the tablespace can participate in FLASHBACK DATABASE operations. This clause is useful if you have the database in FLASHBACK mode but you do not want Oracle Database to maintain Flashback log data for this tablespace.
This clause is not valid for temporary or undo tablespaces.
Specify FLASHBACK ON to put the tablespace in FLASHBACK mode. Oracle Database will save Flashback log data for this tablespace and the tablespace can participate in a FLASHBACK DATABASE operation. If you omit the flashback_mode_clause, then FLASHBACK ON is the default.
Specify FLASHBACK OFF to take the tablespace out of FLASHBACK mode. Oracle Database will not save any Flashback log data for this tablespace. You must take the datafiles in this tablespace offline or drop them prior to any subsequent FLASHBACK DATABASE operation. Alternatively, you can take the entire tablespace offline. In either case, the database does not drop existing Flashback logs.
|
Note: TheFLASHBACK mode of a tablespace is independent of the FLASHBACK mode of an individual table. |
|
See Also:
|
Use this clause to create a locally managed temporary tablespace, which is an allocation of space in the database that can contain transient data that persists only for the duration of a session. This transient data cannot be recovered after process or instance failure.
The transient data can be user-generated schema objects such as temporary tables or system-generated data such as temp space used by hash joins and sort operations. When a temporary tablespace, or a tablespace group of which this tablespace is a member, is assigned to a particular user, then Oracle Database uses the tablespace for sorting operations in transactions initiated by that user.
The TEMPFILE clause is described in "DATAFILE | TEMPFILE Clause ". The extent_management_clause is described in extent_management_clause .
|
See Also: Oracle Database Security Guide for information on assigning temporary tablespaces to users |
This clause is relevant only for temporary tablespaces. Use this clause to determine whether tablespace is a member of a tablespace group. A tablespace group lets you assign multiple temporary tablespaces to a single user and increases the addressability of temporary tablespaces.
Specify a group name to indicate that tablespace is a member of this tablespace group. The group name cannot be the same as tablespace or any other existing tablespace. If the tablespace group already exists, then Oracle Database adds the new tablespace to that group. If the tablespace group does not exist, then the database creates the group and adds the new tablespace to that group.
Specify an empty string (' ') to indicate that tablespace is not a member of any tablespace group.
|
See Also:
|
The data stored in temporary tablespaces persists only for the duration of a session. Therefore, only a subset of the CREATE TABLESPACE clauses are relevant for temporary tablespaces. The only clauses you can specify for a temporary tablespace are the TEMPFILE clause, the tablespace_group_clause, and the extent_management_clause.
Specify UNDO to create an undo tablespace. When you run the database in automatic undo management mode, Oracle Database manages undo space using the undo tablespace instead of rollback segments. This clause is useful if you are now running in automatic undo management mode but your database was not created in automatic undo management mode.
Oracle Database always assigns an undo tablespace when you start up the database in automatic undo management mode. If no undo tablespace has been assigned to this instance, then the database uses the SYSTEM rollback segment. You can avoid this by creating an undo tablespace, which the database will implicitly assign to the instance if no other undo tablespace is currently assigned.
The DATAFILE clause is described in "DATAFILE | TEMPFILE Clause ". The extent_management_clause is described in extent_management_clause .
This clause is valid only for undo tablespaces.
RETENTION GUARANTEE specifies that Oracle Database should preserve unexpired undo data in all undo segments of tablespace even if doing so forces the failure of ongoing operations that need undo space in those segments. This setting is useful if you need to issue an Oracle Flashback Query or an Oracle Flashback Transaction Query to diagnose and correct a problem with the data.
RETENTION NOGUARANTEE returns the undo behavior to normal. Space occupied by unexpired undo data in undo segments can be consumed if necessary by ongoing transactions. This is the default.
You cannot create database objects in this tablespace. It is reserved for system-managed undo data.
The only clauses you can specify for an undo tablespace are the DATAFILE clause and the extent_management_clause to specify local extent management. You cannot specify dictionary extent management using the extent_management_clause. All undo tablespaces are created permanent, read/write, and in logging mode. Values for MINIMUM EXTENT and DEFAULT STORAGE are system generated.
|
See Also:
|
Examples
These examples assume that your database is using 8K blocks.
The following example creates a bigfile tablespace bigtbs_01 with a datafile bigtbs_f1.dat of 10 MB:
CREATE BIGFILE TABLESPACE bigtbs_01 DATAFILE 'bigtbs_f1.dat' SIZE 20M AUTOEXTEND ON;
The following example creates a 10 MB undo tablespace undots1:
CREATE UNDO TABLESPACE undots1 DATAFILE 'undotbs_1a.f' SIZE 10M AUTOEXTEND ON RETENTION GUARANTEE;
This statement shows how the temporary tablespace that serves as the default temporary tablespace for database users in the sample database was created:
CREATE TEMPORARY TABLESPACE temp_demo TEMPFILE 'temp01.dbf' SIZE 5M AUTOEXTEND ON;
If we assume that the default database block size is 2K, and that each bit in the map represents one extent, then each bit maps 2,500 blocks.
The following example sets the default location for datafile creation and then creates a tablespace with an Oracle-managed tempfile in the default location. The tempfile is 100 M and is autoextensible with unlimited maximum size. These are the default values for Oracle-managed files:
ALTER SYSTEM SET DB_CREATE_FILE_DEST = '$ORACLE_HOME/rdbms/dbs'; CREATE TEMPORARY TABLESPACE tbs_05;
The following statement creates the tbs_temp_01 temporary tablespace as a member of the tbs_grp_01 tablespace group. If the tablespace group does not already exist, then Oracle Database creates it during execution of this statement:
CREATE TEMPORARY TABLESPACE tbs_temp_01 TEMPFILE 'temp02.dbf' SIZE 5M AUTOEXTEND ON TABLESPACE GROUP tbs_grp_01;
This statement creates a tablespace named tbs_01 with one datafile:
CREATE TABLESPACE tbs_01 DATAFILE 'tbs_f2.dat' SIZE 40M ONLINE;
This statement creates tablespace tbs_03 with one datafile and allocates every extent as a multiple of 500K:
CREATE TABLESPACE tbs_03 DATAFILE 'tbs_f03.dbf' SIZE 20M LOGGING;
This statement creates a tablespace named tbs_02 with one datafile. When more space is required, 500 kilobyte extents will be added up to a maximum size of 100 megabytes:
CREATE TABLESPACE tbs_02 DATAFILE 'diskb:tbs_f5.dat' SIZE 500K REUSE AUTOEXTEND ON NEXT 500K MAXSIZE 100M;
In the following statement, we assume that the database block size is 2K.
CREATE TABLESPACE tbs_04 DATAFILE 'file_1.f' SIZE 10M EXTENT MANAGEMENT LOCAL UNIFORM SIZE 128K;
This statement creates a locally managed tablespace in which every extent is 128K and each bit in the bit map describes 64 blocks.
The following example creates a tablespace with automatic segment-space management:
CREATE TABLESPACE auto_seg_ts DATAFILE 'file_2.f' SIZE 1M EXTENT MANAGEMENT LOCAL SEGMENT SPACE MANAGEMENT AUTO;
The following example sets the default location for datafile creation and creates a tablespace with a datafile in the default location. The datafile is 100M and is autoextensible with an unlimited maximum size:
ALTER SYSTEM SET DB_CREATE_FILE_DEST = '$ORACLE_HOME/rdbms/dbs'; CREATE TABLESPACE omf_ts1;
The following example creates a tablespace with an Oracle-managed datafile of 100M that is not autoextensible:
CREATE TABLESPACE omf_ts2 DATAFILE AUTOEXTEND OFF;