| Oracle® Database SQL Reference 10g Release 1 (10.1) Part Number B10759-01 |
|
|
View PDF |
Purpose
The storage_clause lets you specify how Oracle Database should store a database object. Storage parameters affect both how long it takes to access data stored in the database and how efficiently space in the database is used.
|
See Also: Oracle Database Performance Tuning Guide for a discussion of the effects of the storage parameters |
When you create a cluster, index, materialized view, materialized view log, rollback segment, table, or partition, you can specify values for the storage parameters for the segments allocated to these objects. If you omit any storage parameter, then Oracle uses the value of that parameter specified for the tablespace in which the object resides.
|
Note: The specification of storage parameters for objects in locally managed tablespaces is supported for backward compatibility. If you are using locally managed tablespaces, you can omit these storage parameter when creating objects in those tablespaces. |
When you alter a cluster, index, materialized view, materialized view log, rollback segment, table, or partition, you can change the values of storage parameters. The new values affect only future extent allocations.
The storage_clause is part of the physical_attributes_clause, so you can specify this clause in any of the statements where you can specify the physical attributes clause (see physical_attributes_clause ). In addition, you can specify the storage_clause in the following statements:
CREATE CLUSTER and ALTER CLUSTER: to set or change the storage characteristics of the cluster and all tables in the cluster (see CREATE CLUSTER and ALTER CLUSTER ).
CREATE INDEX and ALTER INDEX: to set or change the storage characteristics of an index or index partition (see CREATE INDEX and ALTER INDEX ).
CREATE MATERIALIZED VIEW and ALTER MATERIALIZED VIEW: to set or change the storage characteristics of a materialized view, one of its partitions, or the index Oracle generates to maintain the materialized view (see CREATE MATERIALIZED VIEW and ALTER MATERIALIZED VIEW ).
CREATE MATERIALIZED VIEW LOG and ALTER MATERIALIZED VIEW LOG: to set or change the storage characteristics of the materialized view log (see CREATE MATERIALIZED VIEW LOG and ALTER MATERIALIZED VIEW LOG ).
CREATE ROLLBACK SEGMENT and ALTER ROLLBACK SEGMENT: to set or change the storage characteristics of a rollback segment (see CREATE ROLLBACK SEGMENT and ALTER ROLLBACK SEGMENT ).
CREATE TABLE and ALTER TABLE: to set the storage characteristics of a LOB data segment of the table or one of its partitions or subpartitions (see CREATE TABLE and ALTER TABLE ).
CREATE TABLESPACE and ALTER TABLESPACE: to set or change the default storage characteristics for objects created in the tablespace (see CREATE TABLESPACE and ALTER TABLESPACE ).
constraint: to specify storage for the index (and its partitions, if it is a partitioned index) used to enforce the constraint (see constraint ).
Prerequisites
To change the value of a STORAGE parameter, you must have the privileges necessary to use the appropriate CREATE or ALTER statement.
Syntax

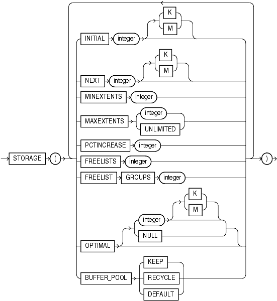
Semantics
This section describes the parameters of the storage_clause. For additional information, refer to the SQL statement in which you set or reset these parameters for a particular database object.
|
Note: Thestorage_clause is interpreted differently for locally managed tablespaces. At creation, Oracle ignores MAXEXTENTS and uses the remaining parameter values to calculate the initial size of the segment. For more information, see CREATE TABLESPACE . |
Specify in bytes the size of the first extent of the object. Oracle allocates space for this extent when you create the schema object. Use K or M to specify this size in kilobytes or megabytes.
The default value is the size of 5 data blocks. In tablespaces with manual segment-space management, the minimum value is the size of 2 data blocks plus one data block for each free list group you specify. In tablespaces with automatic segment-space management, the minimum value is 5 data blocks. The maximum value depends on your operating system. Please refer to FREELIST GROUPS for information on freelist groups for more information.
In dictionary-managed tablespaces, if MINIMUM EXTENT was specified for the tablespace when it was created, then Oracle rounds the value of INITIAL up to the specified MINIMUM EXTENT size if necessary. If MINIMUM EXTENT was not specified, then Oracle rounds the INITIAL extent size for segments created in that tablespace up to the minimum value (see preceding paragraph), or to multiples of 5 blocks if the requested size is greater than 5 blocks.
In locally managed tablespaces, Oracle uses the value of INITIAL in conjunction with the size of extents specified for the tablespace to determine the first extent of the object. For example, in a uniform locally managed tablespace with 5M extents, if you specify an INITIAL value of 1M, then Oracle creates five 1M extents.
You cannot specify INITIAL in an ALTER statement.
Specify in bytes the size of the next extent to be allocated to the object. Use K or M to specify the size in kilobytes or megabytes. The default value is the size of 5 data blocks. The minimum value is the size of 1 data block. The maximum value depends on your operating system. Oracle rounds values up to the next multiple of the data block size for values less than 5 data blocks. For values greater than 5 data blocks, Oracle rounds up to a value that minimizes fragmentation, as described in Oracle Database Administrator's Guide.
If you change the value of the NEXT parameter (that is, if you specify it in an ALTER statement), then the next allocated extent will have the specified size, regardless of the size of the most recently allocated extent and the value of the PCTINCREASE parameter.
|
See Also: Oracle Database Administrator's Guide for information on how Oracle minimizes fragmentation |
Specify the percent by which the third and subsequent extents grow over the preceding extent. The default value is 50, meaning that each subsequent extent is 50% larger than the preceding extent. The minimum value is 0, meaning all extents after the first are the same size. The maximum value depends on your operating system.
Oracle rounds the calculated size of each new extent to the nearest multiple of the data block size.
If you change the value of the PCTINCREASE parameter (that is, if you specify it in an ALTER statement), then Oracle calculates the size of the next extent using this new value and the size of the most recently allocated extent.
|
Suggestion: If you wish to keep all extents the same size, you can prevent theSMON background process from coalescing extents by setting the value of PCTINCREASE to 0. In general, Oracle recommends a setting of 0 as a way to minimize fragmentation and avoid the possibility of very large temporary segments during processing. |
You cannot specify PCTINCREASE for rollback segments. Rollback segments always have a PCTINCREASE value of 0.
Specify the total number of extents to allocate when the object is created. This parameter lets you allocate a large amount of space when you create an object, even if the space available is not contiguous. The default and minimum value is 1, meaning that Oracle allocates only the initial extent, except for rollback segments, for which the default and minimum value is 2. The maximum value depends on your operating system.
If the MINEXTENTS value is greater than 1, then Oracle calculates the size of subsequent extents based on the values of the INITIAL, NEXT, and PCTINCREASE storage parameters.
When changing the value of MINEXTENTS (that is, in an ALTER statement), you can reduce the value from its current value, but you cannot increase it. Resetting MINEXTENTS to a smaller value might be useful, for example, before a TRUNCATE ... DROP STORAGE statement, if you want to ensure that the segment will maintain a minimum number of extents after the TRUNCATE operation.
You cannot change the value of MINEXTENTS for an object that resides in a locally managed tablespace.
Specify the total number of extents, including the first, that Oracle can allocate for the object. The minimum value is 1 except for rollback segments, which always have a minimum of 2. The default value depends on your data block size.
You cannot change the value of MAXEXTENTS for an object that resides in a locally managed tablespace.
Specify UNLIMITED if you want extents to be allocated automatically as needed. Oracle recommends this setting as a way to minimize fragmentation.
Do not use this clause for rollback segments. Doing so allows the possibility that long-running rogue DML transactions will continue to create new extents until a disk is full.
|
Caution: A rollback segment that you create without specifying thestorage_clause has the same storage parameters as the tablespace in which the rollback segment is created. Thus, if you create a tablespace with MAXEXTENTS UNLIMITED, then the rollback segment will have this same default. |
Specify the number of groups of free lists for the database object you are creating. The default and minimum value for this parameter is 1. Oracle uses the instance number of Real Application Clusters instances to map each instance to one free list group.
Each free list group uses one database block. Therefore:
If you do not specify a large enough value for INITIAL to cover the minimum value plus one data block for each free list group, then Oracle increases the value of INITIAL the necessary amount.
If you are creating an object in a uniform locally managed tablespace, and the extent size is not large enough to accommodate the number of freelist groups, then the create operation will fail.
Oracle ignores a setting of FREELIST GROUPS if the tablespace in which the object resides is in automatic segment-space management mode. If you are running your database in this mode, please refer to the FREEPOOLS parameter of the LOB_storage_clause.
You can specify the FREELIST GROUPS parameter only in CREATE TABLE, CREATE CLUSTER, CREATE MATERIALIZED VIEW, CREATE MATERIALIZED VIEW LOG, and CREATE INDEX statements.
|
See Also: Real Application Clusters Administration for information on associating instances with free list groups |
For objects other than tablespaces and rollback segments, specify the number of free lists for each of the free list groups for the table, partition, cluster, or index. The default and minimum value for this parameter is 1, meaning that each free list group contains one free list. The maximum value of this parameter depends on the data block size. If you specify a FREELISTS value that is too large, then Oracle returns an error indicating the maximum value.
Oracle ignores a setting of FREELISTS if the tablespace in which the object resides is in automatic segment-space management mode. If you are running your database in this mode, please refer to the FREEPOOLS parameter of the LOB_storage_clause.
You can specify FREELISTS in the storage_clause of any statement except when creating or altering a tablespace or rollback segment.
The BUFFER_POOL clause lets you specify a default buffer pool or cache for a schema object. All blocks for the object are stored in the specified cache.
If you define a buffer pool for a partitioned table or index, then the partitions inherit the buffer pool from the table or index definition unless overridden by a partition-level definition.
For an index-organized table, you can specify a buffer pool separately for the index segment and the overflow segment.
You cannot specify this clause for a cluster table. However, you can specify it for a cluster.
You cannot specify this clause for a tablespace or a rollback segment.
Specify KEEP to put blocks from the segment into the KEEP buffer pool. Maintaining an appropriately sized KEEP buffer pool lets Oracle retain the schema object in memory to avoid I/O operations. KEEP takes precedence over any NOCACHE clause you specify for a table, cluster, materialized view, or materialized view log.
Specify RECYCLE to put blocks from the segment into the RECYCLE pool. An appropriately sized RECYCLE pool reduces the number of objects whose default pool is the RECYCLE pool from taking up unnecessary cache space.
Specify DEFAULT to indicate the default buffer pool. This is the default for objects not assigned to KEEP or RECYCLE.
|
See Also: Oracle Database Performance Tuning Guide for more information about using multiple buffer pools |
The OPTIMAL keyword is relevant only to rollback segments. It specifies an optimal size in bytes for a rollback segment. Use K or M to specify this size in kilobytes or megabytes. Oracle tries to maintain this size for the rollback segment by dynamically deallocating extents when their data is no longer needed for active transactions. Oracle deallocates as many extents as possible without reducing the total size of the rollback segment below the OPTIMAL value.
The value of OPTIMAL cannot be less than the space initially allocated by the MINEXTENTS, INITIAL, NEXT, and PCTINCREASE parameters. The maximum value depends on your operating system. Oracle rounds values up to the next multiple of the data block size.
Specify NULL for no optimal size for the rollback segment, meaning that Oracle never deallocates the extents of the rollback segment. This is the default behavior.
Example
The following statement creates a table and provides storage parameter values:
CREATE TABLE divisions
(div_no NUMBER(2),
div_name VARCHAR2(14),
location VARCHAR2(13) )
STORAGE ( INITIAL 100K NEXT 50K
MINEXTENTS 1 MAXEXTENTS 50 PCTINCREASE 5);
Oracle allocates space for the table based on the STORAGE parameter values as follows:
The MINEXTENTS value is 1, so Oracle allocates 1 extent for the table upon creation.
The INITIAL value is 100K, so the size of the first extent is 100 kilobytes.
If the table data grows to exceed the first extent, then Oracle allocates a second extent. The NEXT value is 50K, so the size of the second extent will be 50 kilobytes.
If the table data subsequently grows to exceed the first two extents, then Oracle allocates a third extent. The PCTINCREASE value is 5, so the calculated size of the third extent is 5% larger than the second extent, or 52.5 kilobytes. If the data block size is 2 kilobytes, then Oracle rounds this value to 52 kilobytes.
If the table data continues to grow, then Oracle allocates more extents, each 5% larger than the previous one.
The MAXEXTENTS value is 50, so Oracle can allocate as many as 50 extents for the table.